授权公布号:CN210582096U
榨汁机及其抽真空装置
有效
申请
2019-05-13
申请公布
1970-01-01
授权
2020-05-22
预估到期
2029-05-13
| 申请号 | CN201920683546.X |
| 申请日 | 2019-05-13 |
| 授权公布号 | CN210582096U |
| 授权公告日 | 2020-05-22 |
| 分类号 | A47J19/02 |
| 分类 | 家具;家庭用的物品或设备;咖啡磨;香料磨;一般吸尘器; |
| 申请人名称 | 佛山市顺德区欧科电器有限公司 |
| 申请人地址 | 广东省佛山市顺德区大良新辉路12号 |
专利法律状态
2020-05-22
授权
状态信息
授权
摘要
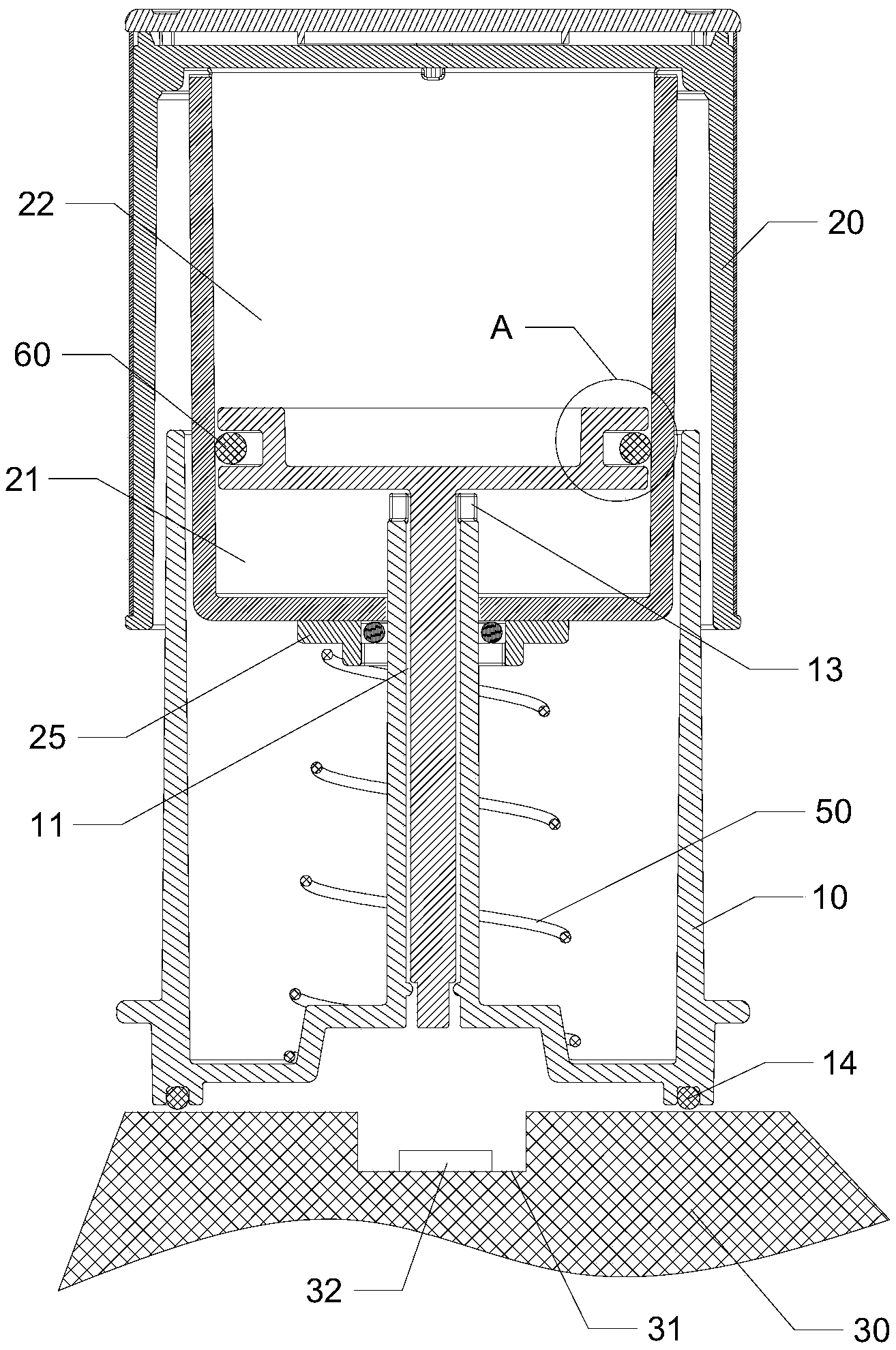
本实用新型公开了一种榨汁机及其抽真空装置;该抽真空装置包括:与待抽真空的容器密封连接的第一壳体,其内设有抽气通道,所述抽气通道与所述容器上的开口连通;与所述第一壳体伸缩连接的第二壳体,其内设有气腔,所述气腔与所述抽气通道连通;活塞,其固定在所述抽气通道的一端,且所述活塞将所述气腔内密封分隔成第一气腔和第二气腔;该榨汁机的容器开口处设有单向阀。本实用新型的榨汁机及其抽真空装置能够快速地将其容器内的空气抽走,使容器内逐渐形成真空状态,使容器内的果汁能够保存更长时间。


