授权公布号:CN208844283U
自动压线剪线装置
有效
申请
2018-09-10
申请公布
1970-01-01
授权
2019-05-10
预估到期
2028-09-10
| 申请号 | CN201821477665.1 |
| 申请日 | 2018-09-10 |
| 授权公布号 | CN208844283U |
| 授权公告日 | 2019-05-10 |
| 分类号 | D05B65/00 |
| 分类 | 缝纫;绣花;簇绒; |
| 申请人名称 | 浙江万维机械有限公司 |
| 申请人地址 | 浙江省丽水市缙云县壶镇中山路11号 |
专利法律状态
2019-05-10
授权
状态信息
授权
摘要
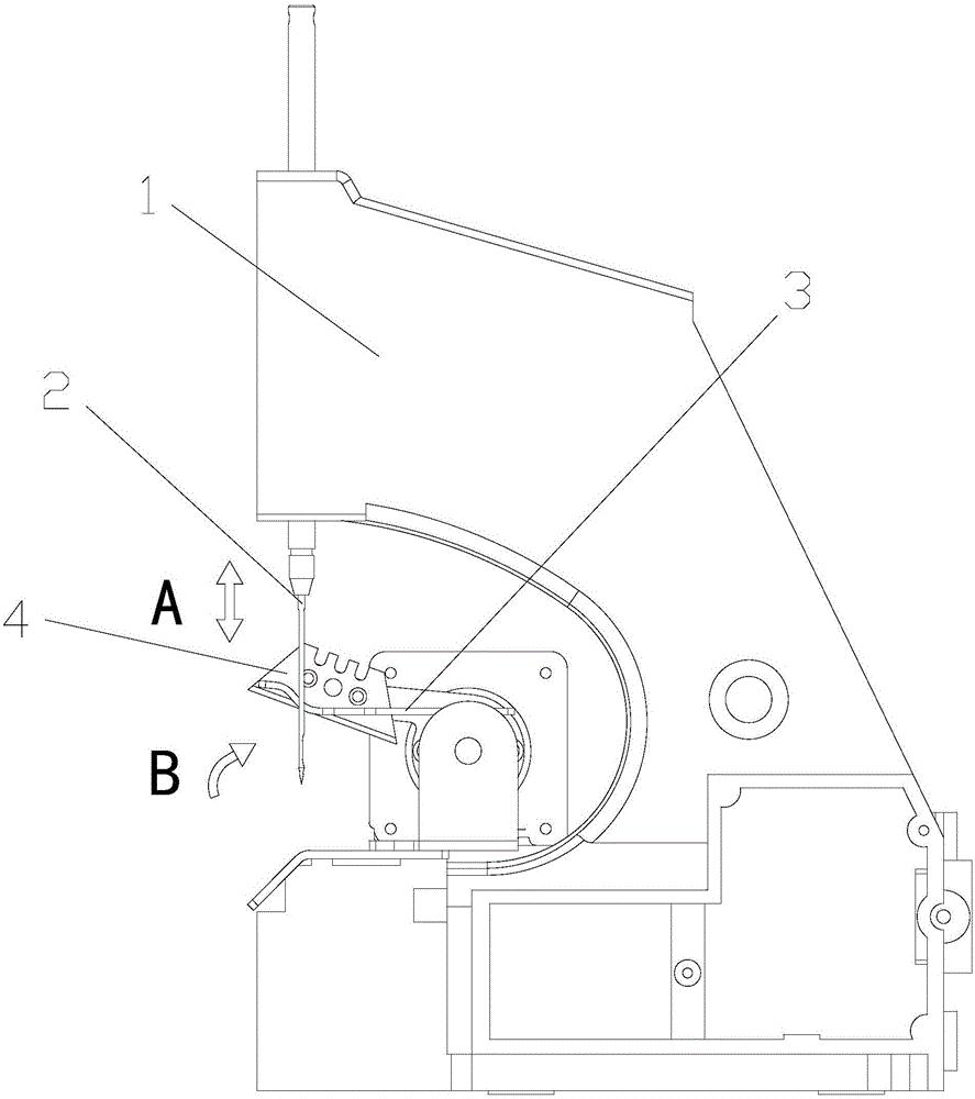
一种自动压线剪线装置,包括机架,机架上设置有机针,机针的一侧设置有压线板,压线板的一侧设置有剪线刀,机架上设置有步进马达,步进马达与剪线刀、压线板均连接。本实用新型有益的效果是:改变了传统的压脚压线方式,能够对特殊缝料进行缝纫,能够对纸箱进行缝纫,采用外置式压线方式来满足缝纫效果,结构合理,缝纫精度高,稳定性强,需要的空间小,省时省力,免去人工剪线,同时满足下一次缝纫前的缝纫条件,自动化程度高,全程不需要人工参与操作,特别适用于产品的自动化生产流水线,使用效果好,利于推广。


