授权公布号:CN218173074U
一种缝纫机头运输防护结构
有效
申请
2022-06-29
申请公布
1970-01-01
授权
2022-12-30
预估到期
2032-06-29
| 申请号 | CN202221664939.4 |
| 申请日 | 2022-06-29 |
| 授权公布号 | CN218173074U |
| 授权公告日 | 2022-12-30 |
| 分类号 | B65D25/10;B65D81/05;B65D85/68 |
| 分类 | 输送;包装;贮存;搬运薄的或细丝状材料; |
| 申请人名称 | 飞马(天津)缝纫机有限公司 |
| 申请人地址 | 天津市西青区西青经济开发区兴华道26号 |
专利法律状态
2022-12-30
授权
状态信息
授权
摘要
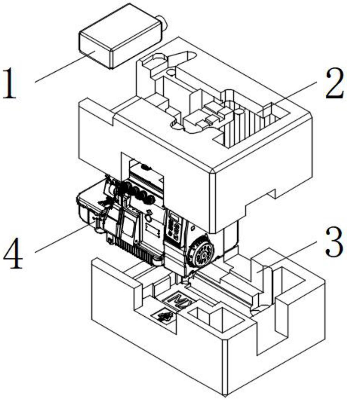
本实用新型公开了一种缝纫机头运输防护结构,属于缝纫机物流技术领域。一种缝纫机头运输防护结构,包括油壶、上防护箱和下防护箱,下防护箱上扣合有上防护箱,油壶卡合在上防护箱上,上防护箱上设有上容腔,下防护上设有下容腔,上容腔和下容腔的形状与缝纫机机头外表结构配合,上防护箱上设有嵌壶槽,油壶嵌装在嵌壶槽内,油壶内灌装有润滑油,油壶用于配重,油壶设置在缝纫机机头的机针侧,并与缝纫机机头接触。本实用新型通过上防护箱和下防护箱为缝纫机机头提供运输防护,在上防护箱上开设嵌壶槽,并在嵌壶槽内放置油壶,从而提供了一种利于批量码垛、防护能力持久稳定、物流成本低的缝纫机机头用防护结构。


