授权公布号:CN218175315U
一种缝纫机空线环剪切装置
有效
申请
2022-08-09
申请公布
1970-01-01
授权
2022-12-30
预估到期
2032-08-09
| 申请号 | CN202222084534.X |
| 申请日 | 2022-08-09 |
| 授权公布号 | CN218175315U |
| 授权公告日 | 2022-12-30 |
| 分类号 | D05B65/00;D05B71/00 |
| 分类 | 缝纫;绣花;簇绒; |
| 申请人名称 | 飞马(天津)缝纫机有限公司 |
| 申请人地址 | 天津市西青区西青经济开发区兴华道26号 |
专利法律状态
2022-12-30
授权
状态信息
授权
摘要
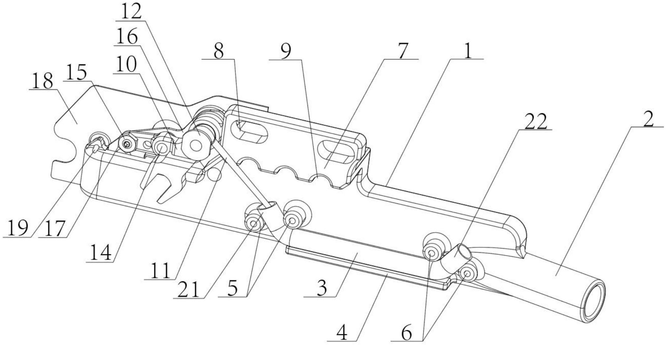
本实用新型涉及缝纫机设备技术领域,尤其涉及一种缝纫机空线环剪切装置,包括支架本体、出料管、储油管与剪切机构,出料管固定连接在支架本体的一侧,储油管卡接在支架本体上,剪切机构安装在支架本体的内部;支架本体包括有壳体、缝料挡板与密封挡板,缝料挡板与壳体之间通过螺栓相互固定连接,密封挡板设置在缝料挡板的一侧,密封挡板通过螺栓与壳体之间相互固定连接;剪切机构设置在支架本体的内部。本实用新型中的壳体采用整体压铸铝结构,具有强度高、稳定性强的优点,可以提高剪线性能与耐久性能,本实用新型中的储油管为PU材质的储油管,储油管与壳体之间无需焊接,安装方便、减少调整工时且外观整齐美观、成本低。


