授权公布号:CN218576106U
一种缝纫机电机手轮拆卸工具
有效
申请
2021-11-09
申请公布
1970-01-01
授权
2023-03-07
预估到期
2031-11-09
| 申请号 | CN202122728630.9 |
| 申请日 | 2021-11-09 |
| 授权公布号 | CN218576106U |
| 授权公告日 | 2023-03-07 |
| 分类号 | B25B27/02 |
| 分类 | 手动工具;轻便机动工具;手动器械的手柄;车间设备;机械手; |
| 申请人名称 | 飞马(天津)缝纫机有限公司 |
| 申请人地址 | 天津市西青区西青经济开发区兴华道26号 |
专利法律状态
2023-03-07
授权
状态信息
授权
摘要
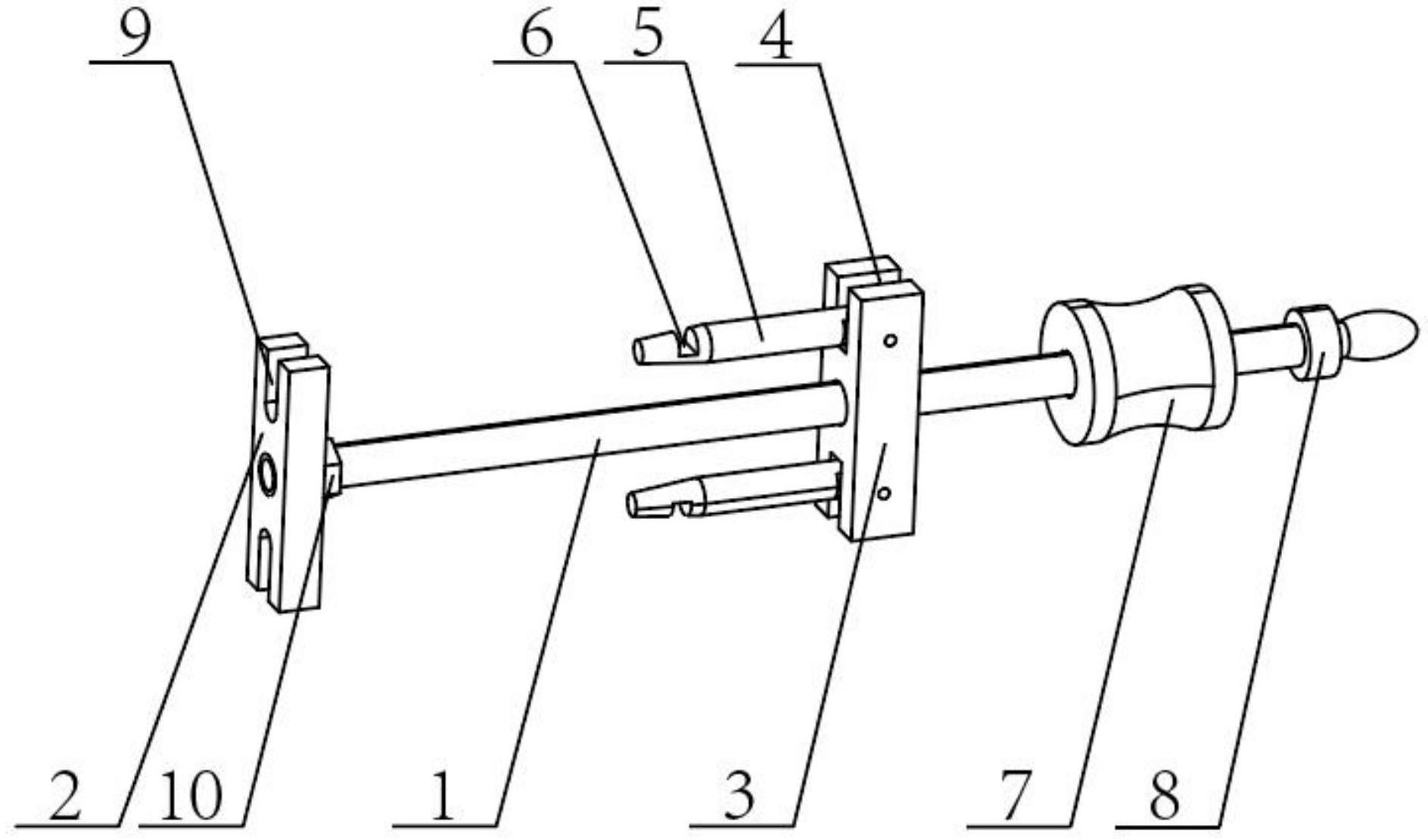
本实用新型涉及缝纫机技术领域,尤其涉及一种缝纫机电机手轮拆卸工具,包括拉杆、支撑架、夹持器与重锤,支撑架连接在拉杆的一端,夹持器设置在拉杆上,重锤设置在夹持器的一侧,夹持器与重锤均可在拉杆上进行滑动,夹持器上开设有两个U型槽A,在U型槽A的内部设置有卡臂,卡臂与U型槽A之间相互转动连接,在支撑架上开设有两个U型槽B,U型槽B的位置与卡臂之间相互对应,支撑架的一侧固定连接有螺母,拉杆的一端与螺母之间相互旋接。本实用新型可以通过夹持器上的卡臂实现对缝纫机电机手轮的拆卸,本实用新型中的卡臂可以撑紧手轮,持续用力从而逐步卸下手轮,具有拆卸方便的优点。


