授权公布号:CN109319558B
布料取放装置和送布机构
有效
申请
2017-07-31
申请公布
2019-02-12
授权
2023-09-08
预估到期
2037-07-31
| 申请号 | CN201710640375.8 |
| 申请日 | 2017-07-31 |
| 申请公布号 | CN109319558A |
| 申请公布日 | 2019-02-12 |
| 授权公布号 | CN109319558B |
| 授权公告日 | 2023-09-08 |
| 分类号 | B65H23/26;B65H20/02 |
| 分类 | 输送;包装;贮存;搬运薄的或细丝状材料; |
| 申请人名称 | 浙江中捷缝纫科技有限公司 |
| 申请人地址 | 浙江省台州市玉环县大麦屿街道兴港东路198号 |
专利法律状态
2023-09-08
授权
状态信息
授权
2019-03-08
实质审查的生效
状态信息
实质审查的生效;IPC(主分类):B65H23/26;申请日:20170731
2019-02-12
公布
状态信息
公布
摘要
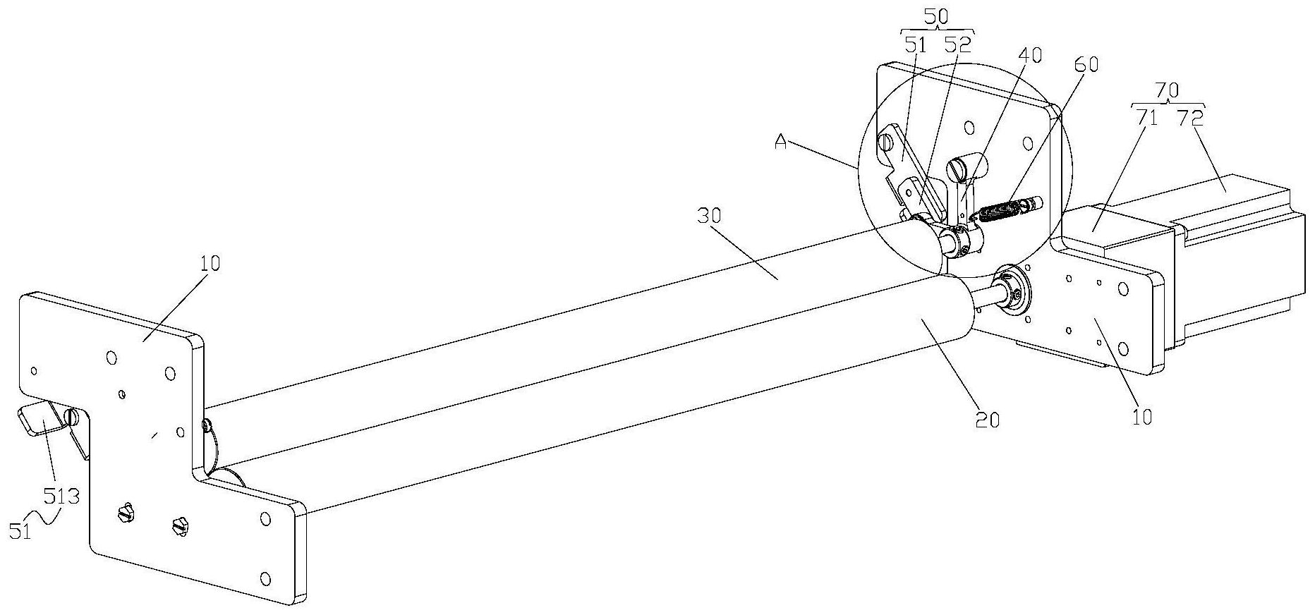
本发明提供了一种布料取放装置和送布机构,其中,布料取放装置包括:基板;主动驱动辊,主动驱动辊可枢转地设置在基板上;从动压料辊,从动压料辊与主动驱动辊相对设置,且从动压料辊具有与主动驱动辊抵接以夹紧布料的布料输送位置,以及与主动驱动辊之间形成避让间隙的布料取放位置;位置调节部,位置调节部与基板可枢转地连接,从动压料辊设置在位置调节部上以在位置调节部的带动下在布料输送位置和布料取放位置之间运动。本发明解决了现有技术中的布料取放装置无法有效地夹紧布料而导致布料输送不稳定,以及无法便捷地对布料位置进行调节,存在使用便捷性差的问题。


