授权公布号:CN211005899U
收料装置及缝纫设备
有效
申请
2019-06-20
申请公布
1970-01-01
授权
2020-07-14
预估到期
2029-06-20
| 申请号 | CN201920939947.7 |
| 申请日 | 2019-06-20 |
| 授权公布号 | CN211005899U |
| 授权公告日 | 2020-07-14 |
| 分类号 | D05B41/00 |
| 分类 | 缝纫;绣花;簇绒; |
| 申请人名称 | 深圳市远成缝纫机工业有限公司 |
| 申请人地址 | 广东省深圳市龙岗区龙岗街道龙东社区打石岭路38号 |
专利法律状态
2020-07-14
授权
状态信息
授权
摘要
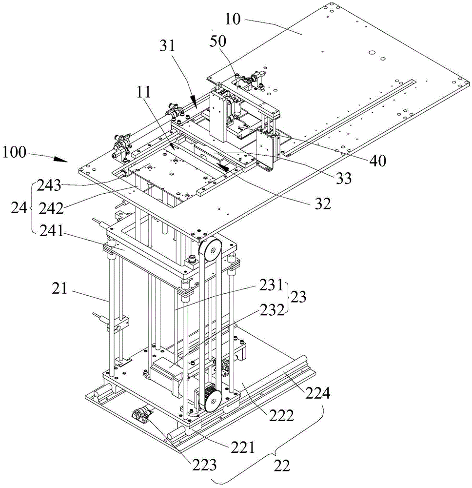
本实用新型提供了一种收料装置以及缝纫设备,该收料装置包括送料面板、横移机构以及夹料组件,该横移机构包括上横移组件以及下横移组件,上横移组件能够在第一导向件上进行移动,下横移组件能够在第二导向件上进行移动,并能够通过夹料件实现对位于第一承载板与第二承料板上的物料进行夹持,并能通过脱料组件对产品的定位,防止上横移组件在移动过程中对物料形成移位,本实用新型提供的收料装置,有效避免了收集物料时,物料在下落的过程中出现翻折导致物料上出现褶缝和错乱无序的现象,方便了作业人员对物料的拿取。


