授权公布号:CN218656961U
一种用于缝纫机底板加工的定位夹具
有效
申请
2022-12-09
申请公布
1970-01-01
授权
2023-03-21
预估到期
2032-12-09
| 申请号 | CN202223318819.1 |
| 申请日 | 2022-12-09 |
| 授权公布号 | CN218656961U |
| 授权公告日 | 2023-03-21 |
| 分类号 | B23B47/00;B23Q3/06;B23Q11/00 |
| 分类 | 机床;不包含在其他类目中的金属加工; |
| 申请人名称 | 浙江宝宇缝纫机股份有限公司 |
| 申请人地址 | 浙江省台州市椒江区经中路2299号 |
专利法律状态
2023-03-21
授权
状态信息
授权
摘要
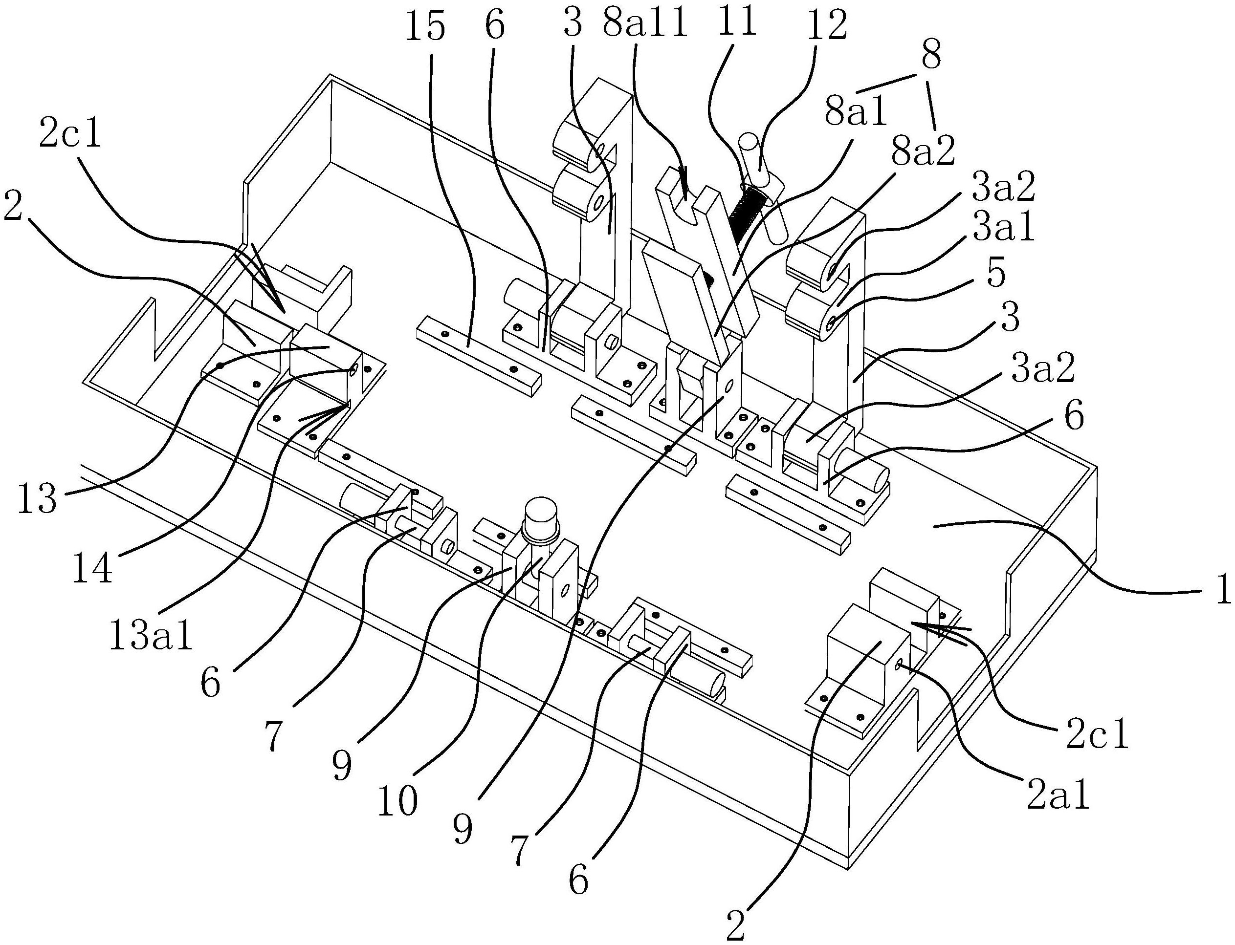
本实用新型提供了一种用于缝纫机底板加工的定位夹具,属于缝纫机底板加工技术领域。它解决了现有技术中加工装置对缝纫机底板的夹持稳定性较差的问题。本用于缝纫机底板加工的定位夹具,包括安装座,所述安装座上设置有一对分别用于缝纫机底板两端抵靠的限位块以及至少一个用于对缝纫机底板进行竖向定位的压料件,两个限位块上分别开设有相对的限位槽,且其中一限位块上贯穿设置有用于供刀具穿设的第一导向孔。本实用新型具有能在缝纫机底板侧壁孔洞加工时提高对其的夹持稳定性的优点。


