授权公布号:CN207331233U
一种能够完成衬衫过肩打褶工艺的机构
有效
申请
2017-09-22
申请公布
1970-01-01
授权
2018-05-08
预估到期
2027-09-22
| 申请号 | CN201721220620.1 |
| 申请日 | 2017-09-22 |
| 授权公布号 | CN207331233U |
| 授权公告日 | 2018-05-08 |
| 分类号 | D05B35/08 |
| 分类 | 缝纫;绣花;簇绒; |
| 申请人名称 | 杜克普爱华工业制造(上海)有限公司 |
| 申请人地址 | 上海市浦东新区自由贸易试验区日京路88号2层A-1室 |
专利法律状态
2018-05-08
授权
状态信息
授权
摘要
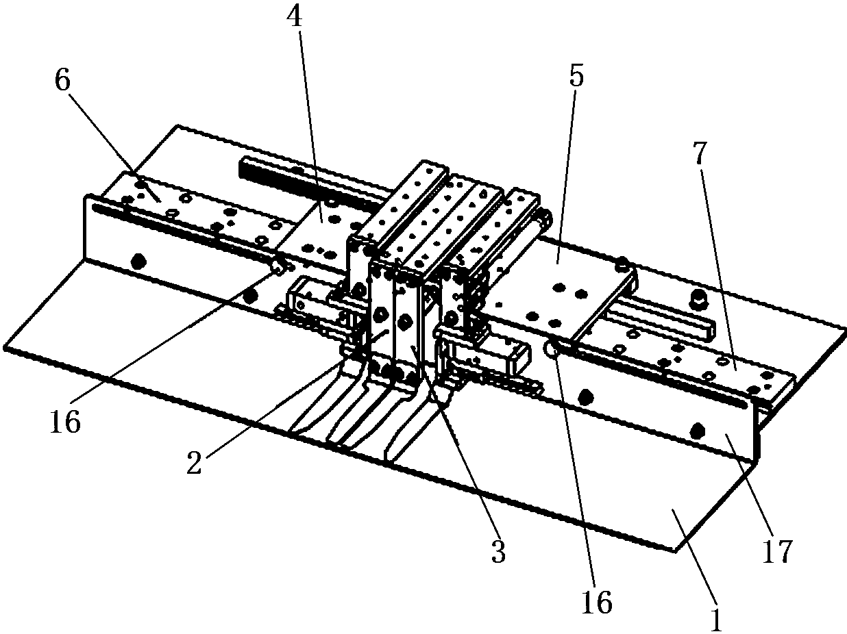
本实用新型涉及缝纫机的技术领域,公开一种能够完成衬衫过肩打褶工艺的机构,包括工作台面板及安装于工作台面板上的左折边模具、右折边模具、左折边模具底板座、右折边模具底板座、左移动组件和右移动组件,左折边模具包括相并列设置的上固定褶刀模块和下移动褶刀模块,右折边模具与左折边模具结构相同且左右并列设置,左移动组件和右移动组件一左一右设置。本实用新型对于单个褶的宽度可根据上固定褶刀和下移动褶刀的宽度来调整,对于两个褶之间的宽度可根据左折边模具和右折边模具的相对位置来调整,整体结构简单,自动化程度高,可以适用不同规格的打褶方案,降低了生产成本,提高了生产效率。


