授权公布号:CN112962228B
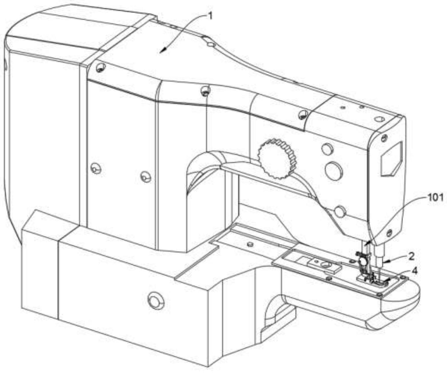
缝纫机
有效
申请
2021-04-17
申请公布
2021-06-15
授权
2022-11-18
预估到期
2041-04-17
| 申请号 | CN202110415039.X |
| 申请日 | 2021-04-17 |
| 申请公布号 | CN112962228A |
| 申请公布日 | 2021-06-15 |
| 授权公布号 | CN112962228B |
| 授权公告日 | 2022-11-18 |
| 分类号 | D05B29/06;D05B69/04 |
| 分类 | 缝纫;绣花;簇绒; |
| 申请人名称 | 汇宝科技集团有限公司 |
| 申请人地址 | 浙江省台州市黄岩区江口街道芦村 |
专利法律状态
2022-11-18
授权
状态信息
授权
2021-06-15
公布
状态信息
公布
摘要
本发明公开了一种缝纫机,其具有柔性中压脚驱动机构,涉及种缝纫机配件技术领域,解决了现有的压脚驱动机构大都集成安装于机头中需打开机盖才能对压脚进行左右上下调整,操作流程繁琐不便且费力的问题。一种缝纫机的柔性中压脚驱动机构,包括缝纫机本体,所述缝纫机本体包括压脚臂,蜗轮和连杆,所述缝纫机本体前端机头的底部设置有一处机针,此机针的后侧位置间隔设置有一处压脚臂;所述蜗杆底部位置的压脚臂上贯穿转插有一处蜗轮,此蜗轮的圆周外圈上转动安装有一处连杆,且连杆的尾端转插连接有一处山字对接块。本发明中的蜗杆可直接正反转驱使山字对接块上下滑动,调节压脚的高度,这省去拆卸机盖调整压脚升降的麻烦。


