授权公布号:CN210992029U
一种厨房用杀菌空气净化器
有效
申请
2019-07-24
申请公布
1970-01-01
授权
2020-07-14
预估到期
2029-07-24
| 申请号 | CN201921168204.0 |
| 申请日 | 2019-07-24 |
| 授权公布号 | CN210992029U |
| 授权公告日 | 2020-07-14 |
| 分类号 | A61L9/20 |
| 分类 | 医学或兽医学;卫生学; |
| 申请人名称 | 青岛市丰鸾环保科技有限责任公司 |
| 申请人地址 | 山东省青岛市崂山区株洲路101号 |
专利法律状态
2020-07-14
授权
状态信息
授权
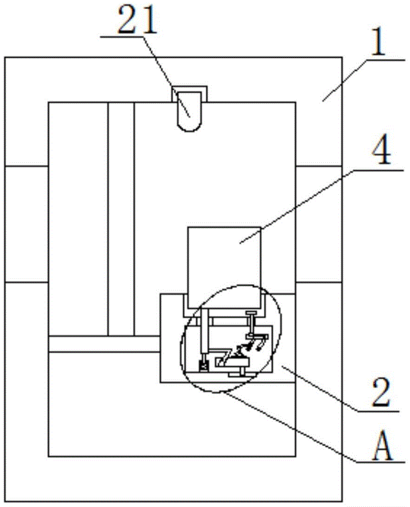
摘要
本实用新型属于空气净化器领域,尤其是一种厨房用杀菌空气净化器,针对现有的空气净化器在使用时,会由于风机运作产生较大的震动,较大的震动会产生较大的噪音,使用人员长期听到会很烦躁,严重影响使用人员心情的问题,现提出如下方案,其包括空气净化器,所述空气净化器的一侧设有安装座,安装座的顶侧开设有安装槽,安装槽内设有风机,所述安装座上开设有放置腔,放置腔的顶侧内壁上开设有压杆孔和顶杆孔,本实用新型结构简单,风机运作产生震动带动压杆移动压杆移动从而带动L型转杆转动,L型转杆转动从而带动顶杆阻止风机产生的震动,使风机运作产生的震动能够达到大幅度的减缓,有效降低了噪音的产生,使用方便。


