授权公布号:CN219308241U
一种高铁地铁用环保型净化消毒器
有效
申请
2023-03-28
申请公布
1970-01-01
授权
2023-07-07
预估到期
2033-03-28
| 申请号 | CN202320627912.6 |
| 申请日 | 2023-03-28 |
| 授权公布号 | CN219308241U |
| 授权公告日 | 2023-07-07 |
| 分类号 | B01D46/40;A61L9/14;B61D27/00 |
| 分类 | 一般的物理或化学的方法或装置; |
| 申请人名称 | 青岛市丰鸾环保科技有限责任公司 |
| 申请人地址 | 山东省青岛市崂山区株洲路101号 |
专利法律状态
2023-07-07
授权
状态信息
授权
摘要
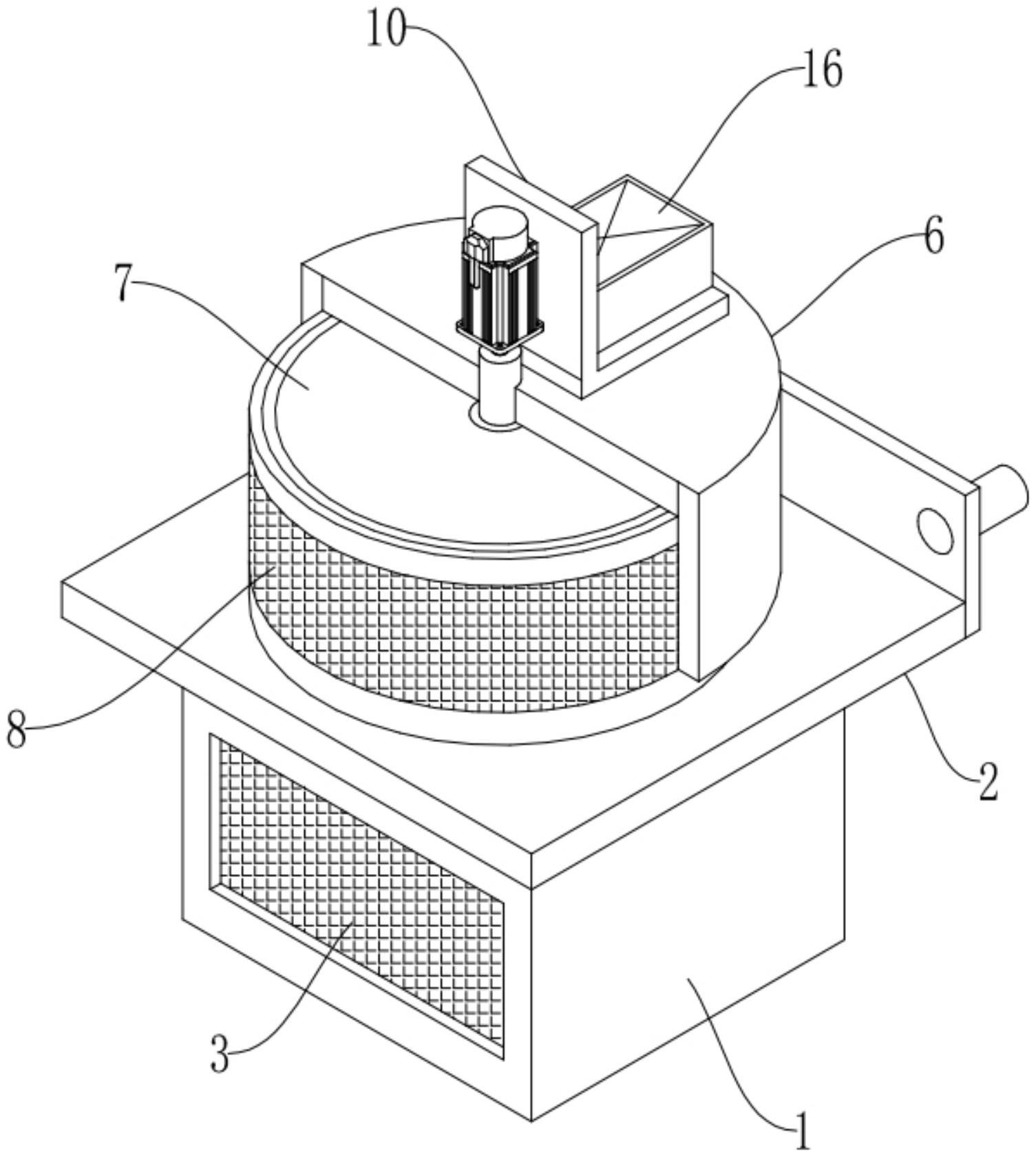
本实用新型公开了一种高铁地铁用环保型净化消毒器,包括消毒室,还包括连接托板、进风口、加热底座、蒸发皿、固定壳体、出风构件、滤网和角度调节装置,所述连接托板设于消毒室上,所述进风口设于消毒室上,所述加热底座设于消毒室底壁上。本实用新型属于高铁地铁的空气净化技术领域,具体是一种高铁地铁用环保型净化消毒器,通过设置连接托板,可利用固定结构实现壁挂放置,再配合角度调节装置,将消毒后空气通过不同的角度吹出,提高消毒空气的扩散面积,提升消毒效率,设置感应控制的设备,对角度的调节提供自动控制功能。


