授权公布号:CN217785356U
一种岗亭空调器
有效
申请
2022-06-26
申请公布
1970-01-01
授权
2022-11-11
预估到期
2032-06-26
| 申请号 | CN202221616284.3 |
| 申请日 | 2022-06-26 |
| 授权公布号 | CN217785356U |
| 授权公告日 | 2022-11-11 |
| 分类号 | F24F5/00;F24F3/14 |
| 分类 | 供热;炉灶;通风; |
| 申请人名称 | 上海仟井电器股份有限公司 |
| 申请人地址 | 上海市浦东新区惠南镇园西路318号6栋2楼 |
专利法律状态
2022-11-11
授权
状态信息
授权
2022-06-26
公布
状态信息
公布
摘要
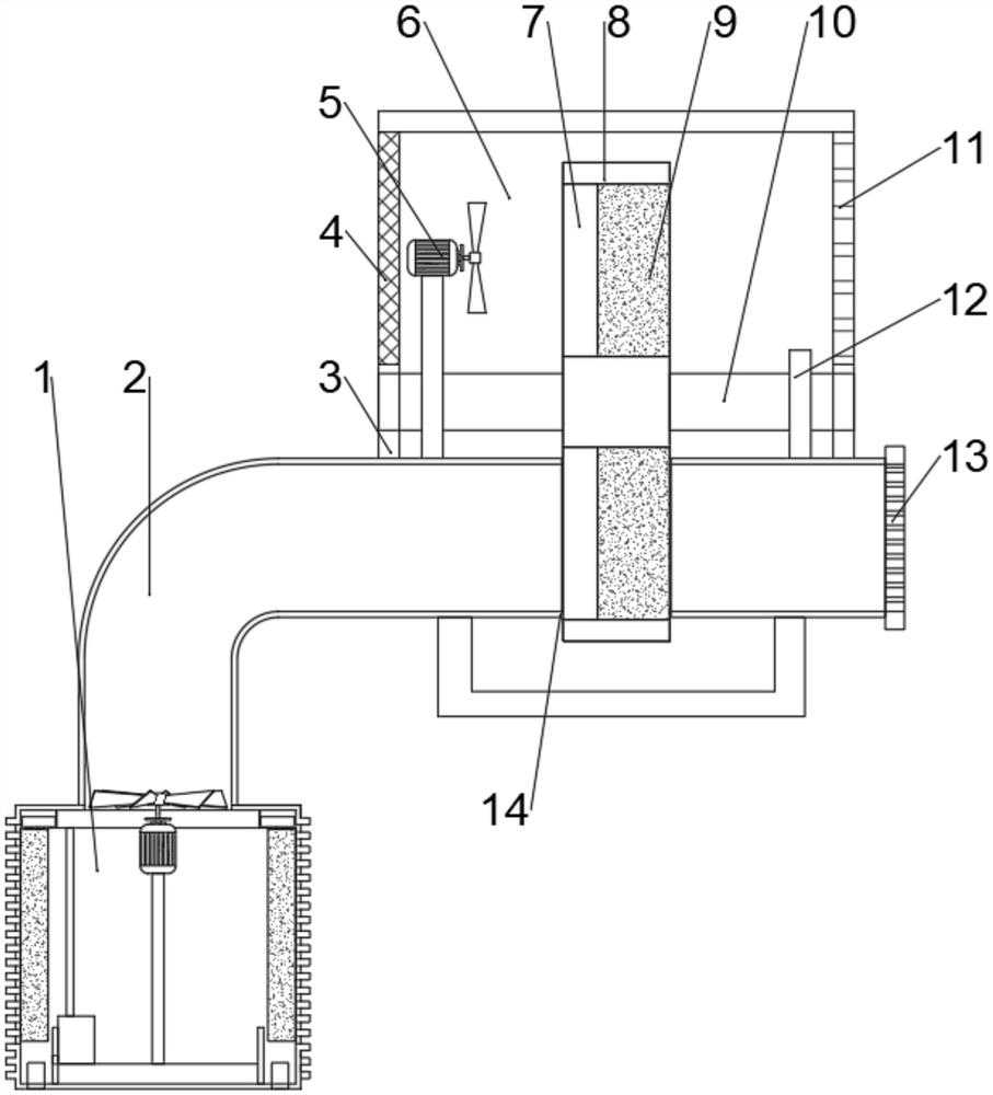
本实用新型公开了一种岗亭空调器,涉及空调设备技术领域;包括空调主机、供风管和干燥组件;空调主机连接供风管,供风管上安装有干燥组件;干燥组件包括固定安装在供风管上的支架,支架上转动安装有支撑轴,支撑轴连接转轮,转轮一侧嵌入供风管上开出的贯穿槽内;转轮内部安装有环形的吸湿剂,转轮内侧安装有多组环形分布的导流板,导流板相对转轮的轴线倾斜安装,支架上远离供风管的一端安装有指向转轮的风机。本装置能够利用蒸发吸热的性能,对开放环境持续的供应低温空气,且对低温空气进行干燥,避免水蒸气过多带来的健康问题。


