授权公布号:CN218379690U
一种带空气净化和紫外线消毒的除湿机
有效
申请
2022-09-09
申请公布
1970-01-01
授权
2023-01-24
预估到期
2032-09-09
| 申请号 | CN202222409810.5 |
| 申请日 | 2022-09-09 |
| 授权公布号 | CN218379690U |
| 授权公告日 | 2023-01-24 |
| 分类号 | F24F3/14;F24F8/22;F24F8/10;F24F13/28 |
| 分类 | 供热;炉灶;通风; |
| 申请人名称 | 上海仟井电器股份有限公司 |
| 申请人地址 | 上海市浦东新区惠南镇园西路318号6栋2楼 |
专利法律状态
2023-01-24
授权
状态信息
授权
摘要
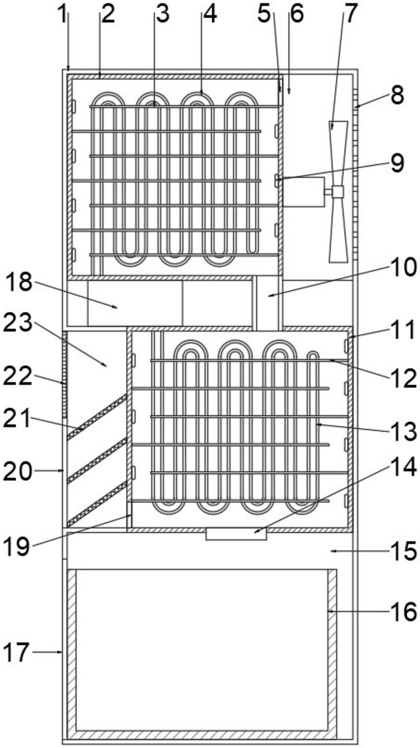
本实用新型公开了一种带空气净化和紫外线消毒的除湿机,涉及除湿设备技术领域;包括机壳、冷凝箱、蒸发箱、压缩机、紫外线灯、除尘板和风机;所述机壳内部错位安装有冷凝箱和蒸发箱;所述冷凝箱内部安装有盘绕的冷凝盘管,所述冷凝箱内安装有多组交错排列的冷凝板;所述蒸发箱内部安装有盘绕的蒸发盘管,所述蒸发箱内部安装有多组交错排列的蒸发板;所述冷凝箱和蒸发箱的内壁上都安装有多组紫外线灯。本装置通过结构的调整,在有效确保除湿和除尘功能不受到影响的同时,极大的提高了杀菌效果,改善了使用体验。


