授权公布号:CN209079055U
一种称重式混料机
有效
申请
2018-09-12
申请公布
1970-01-01
授权
2019-07-09
预估到期
2028-09-12
| 申请号 | CN201821486119.4 |
| 申请日 | 2018-09-12 |
| 授权公布号 | CN209079055U |
| 授权公告日 | 2019-07-09 |
| 分类号 | B29C45/18;B29B7/16;B29B7/28;B29B7/24 |
| 分类 | 塑料的加工;一般处于塑性状态物质的加工; |
| 申请人名称 | 广东文穗智能装备股份有限公司 |
| 申请人地址 | 广东省广州市番禺区大龙街茶东村东兴工业区36A1 |
专利法律状态
2022-04-15
专利权质押合同登记的生效、变更及注销
状态信息
专利权质押合同登记的生效;IPC(主分类):B29C45/18;登记号:Y2022980003291;登记生效日:20220328;出质人:广东文穗智能装备股份有限公司;质权人:中国建设银行股份有限公司广州番禺支行;实用新型名称:一种称重式混料机;申请日:20180912;授权公告日:20190709
2019-07-09
授权
状态信息
授权
摘要
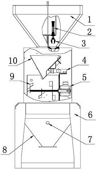
本实用新型公开了一种称重式混料机,包括机架和安装在机架上的搅拌料斗,所述的搅拌料斗上安装有称重料斗,称重料斗与搅拌料斗之间设置有称重传感器,称重料斗上部连接原料料斗,原料料斗与称重料斗之间通过堵头实现连通与关闭,堵头与第一气缸相连,第一气缸安装在原料料斗中,所述的搅拌料斗下接储料斗,储料斗上安装有阻旋料位计,所述的搅拌料斗中安装有搅拌叶片,搅拌叶片固定安装在搅拌轴上,所述的搅拌轴连接搅拌电机的转轴,所述的称重料斗与搅拌料斗的下料口处均安装有电磁阀开关。本装置采用圆形堵头堵料,进行粗补和精补,粗补进料根据时间确定,精补进料通过堵头的瞬时抖动进料,精度高。


