授权公布号:CN208990198U
理牌支架及麻将机
有效
申请
2018-08-16
申请公布
1970-01-01
授权
2019-06-18
预估到期
2028-08-16
| 申请号 | CN201821325073.8 |
| 申请日 | 2018-08-16 |
| 授权公布号 | CN208990198U |
| 授权公告日 | 2019-06-18 |
| 分类号 | A63F9/20 |
| 分类 | 运动;游戏;娱乐活动; |
| 申请人名称 | 松冈机电(中国)有限公司 |
| 申请人地址 | 浙江省杭州市萧山经济技术开发区桥南区高新十路122号 |
专利法律状态
2019-06-18
授权
状态信息
授权
摘要
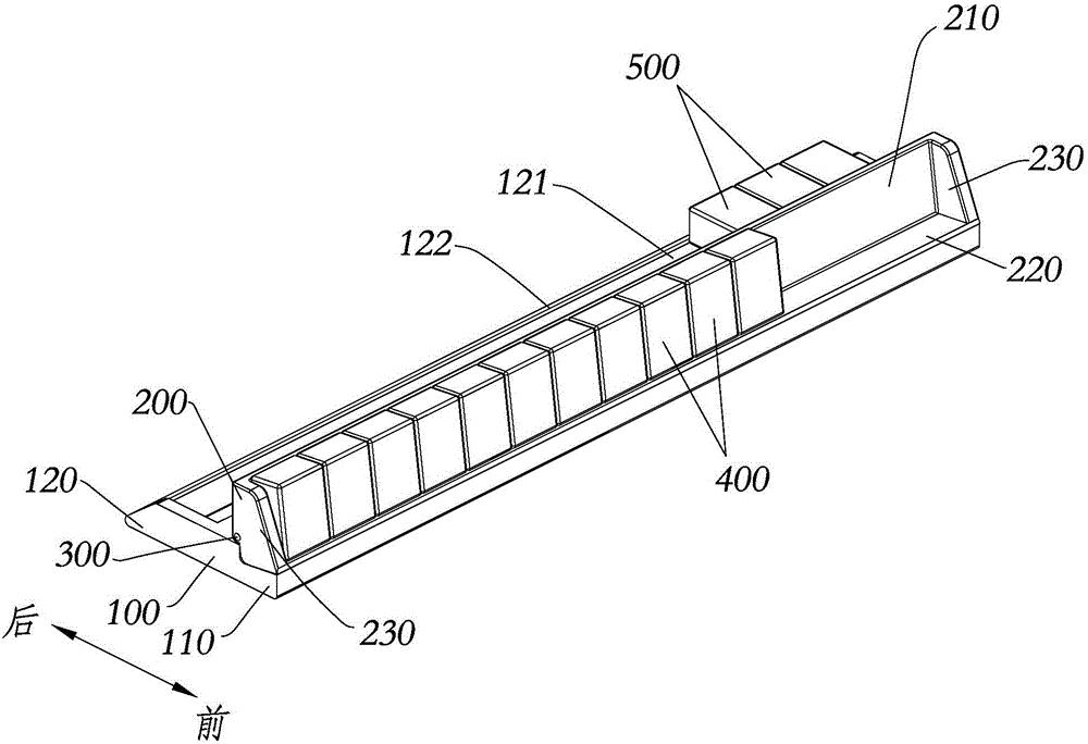
本实用新型公开了理牌支架及麻将机,属于棋牌娱乐设备领域,解决现有麻将娱乐时玩家理牌不方便的问题,本实用新型的理牌支架,包括底座和用于放置手牌的手牌支架,所述手牌支架转动连接在所述底座上,以使所述手牌支架能在相对所述底座的立放状态和平躺状态切换。玩家整理手牌以及行牌过程中,手牌放置在立放状态的手牌支架上,手牌支架可以保证整列手牌摆放整齐,不仅避免了手牌摆放不整齐而被其他玩家看到的问题,也更利于玩家审牌;当玩家胡牌时,将手牌支架翻转至平躺状态,整列手牌随手牌支架翻倒,以向其他玩家展示胡牌,避免玩家手动翻转手牌容易将整列手牌打乱的尴尬,提升玩牌体验。


