授权公布号:CN209108577U
一种自动麻将机的升牌机构
有效
申请
2018-09-27
申请公布
1970-01-01
授权
2019-07-16
预估到期
2028-09-27
| 申请号 | CN201821584642.0 |
| 申请日 | 2018-09-27 |
| 授权公布号 | CN209108577U |
| 授权公告日 | 2019-07-16 |
| 分类号 | A63F9/20 |
| 分类 | 运动;游戏;娱乐活动; |
| 申请人名称 | 松冈机电(中国)有限公司 |
| 申请人地址 | 浙江省杭州市萧山经济技术开发区桥南区高新十路122号 |
专利法律状态
2021-04-16
专利申请权、专利权的转移
状态信息
专利权的转移;IPC(主分类):A63F9/20;专利号:ZL2018215846420;登记生效日:20210402;变更事项:专利权人;变更前权利人:林培;变更后权利人:松冈机电(中国)有限公司;变更事项:地址;变更前权利人:317500 浙江省台州市温岭市太平街道万昌中路520号京汉君庭2幢;变更后权利人:311231 浙江省杭州市萧山经济技术开发区桥南区高新十路122号
2019-07-16
实用新型专利权授予
状态信息
授权
摘要
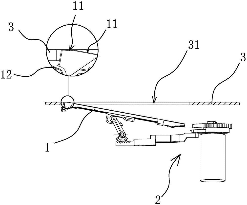
本实用新型提供了一种自动麻将机的升牌机构,属于麻将机技术领域。它解决了现有的倾斜升牌的麻将机在升牌过程中麻将易倾倒的问题。本自动麻将机的升牌机构,包括相对麻将机的桌面板转动设置的升牌托板和用于驱动升牌托板上下摆动的驱动机构,所述升牌托板的上表面包括若干沿升牌托板长度方向依次连接的导牌面,各所述导牌面相对相邻的导牌面向下倾斜设置并平缓过渡。本升牌托板末端的导牌面与桌面之间的倾角较小,使麻将过渡到桌面更平稳。


