授权公布号:CN210409490U
叠牌机构及麻将机上牌装置
审中
申请
2019-05-10
申请公布
1970-01-01
授权
2020-04-28
预估到期
2029-05-10
| 申请号 | CN201920667742.8 |
| 申请日 | 2019-05-10 |
| 授权公布号 | CN210409490U |
| 授权公告日 | 2020-04-28 |
| 分类号 | A63F9/20 |
| 分类 | 运动;游戏;娱乐活动; |
| 申请人名称 | 松冈机电(中国)有限公司 |
| 申请人地址 | 浙江省杭州市萧山经济技术开发区桥南区高新十路122号 |
专利法律状态
2024-01-02
避免重复授权放弃专利权
状态信息
避免重复授予专利权;IPC(主分类):A63F9/20;专利号:ZL2019206677428;申请日:20190510;授权公告日:20200428;放弃生效日:20240102
2020-04-28
授权
状态信息
授权
摘要
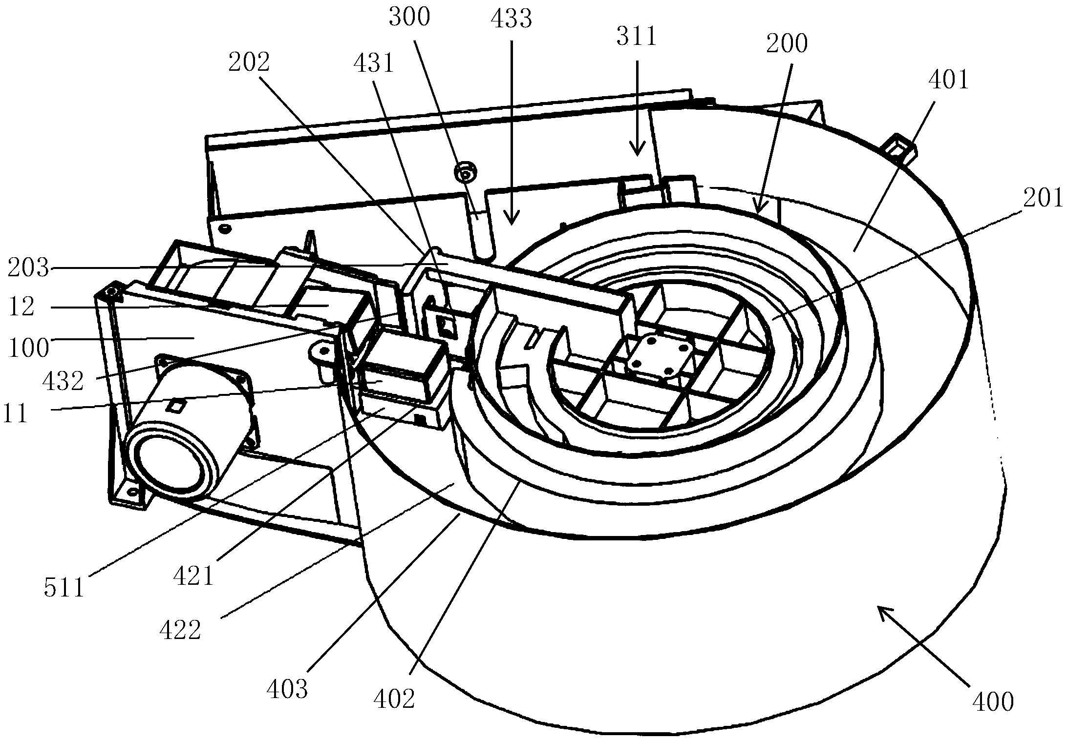
本实用新型公开了一种叠牌机构及麻将机上牌装置,叠牌机构包括转盘和承牌座,所述承牌座的上表面形成活动承牌面,所述转盘上设有一圈轨道面,所述轨道面分为上轨平面和下轨平面,还包括有能够被所述轨道面作用并与所述承牌座连接的传动机构;通过所述转盘的转动,所述传动机构被所述下轨平面和所述上轨平面分别作用,进而带动所述承牌座在下位状态和高于所述下位状态的上位状态之间切换。本实用新型能够减小第一张麻将牌的自由落体高度,增强第一张麻将牌的落牌稳定性,具有降低落牌噪音并杜绝发生卡机头故障的优点。


