授权公布号:CN209967649U
储牌升牌装置
有效
申请
2019-05-13
申请公布
1970-01-01
授权
2020-01-21
预估到期
2029-05-13
| 申请号 | CN201920678771.4 |
| 申请日 | 2019-05-13 |
| 授权公布号 | CN209967649U |
| 授权公告日 | 2020-01-21 |
| 分类号 | A63F9/20 |
| 分类 | 运动;游戏;娱乐活动; |
| 申请人名称 | 松冈机电(中国)有限公司 |
| 申请人地址 | 浙江省杭州市萧山经济技术开发区桥南区高新十路122号 |
专利法律状态
2020-01-21
授权
状态信息
授权
摘要
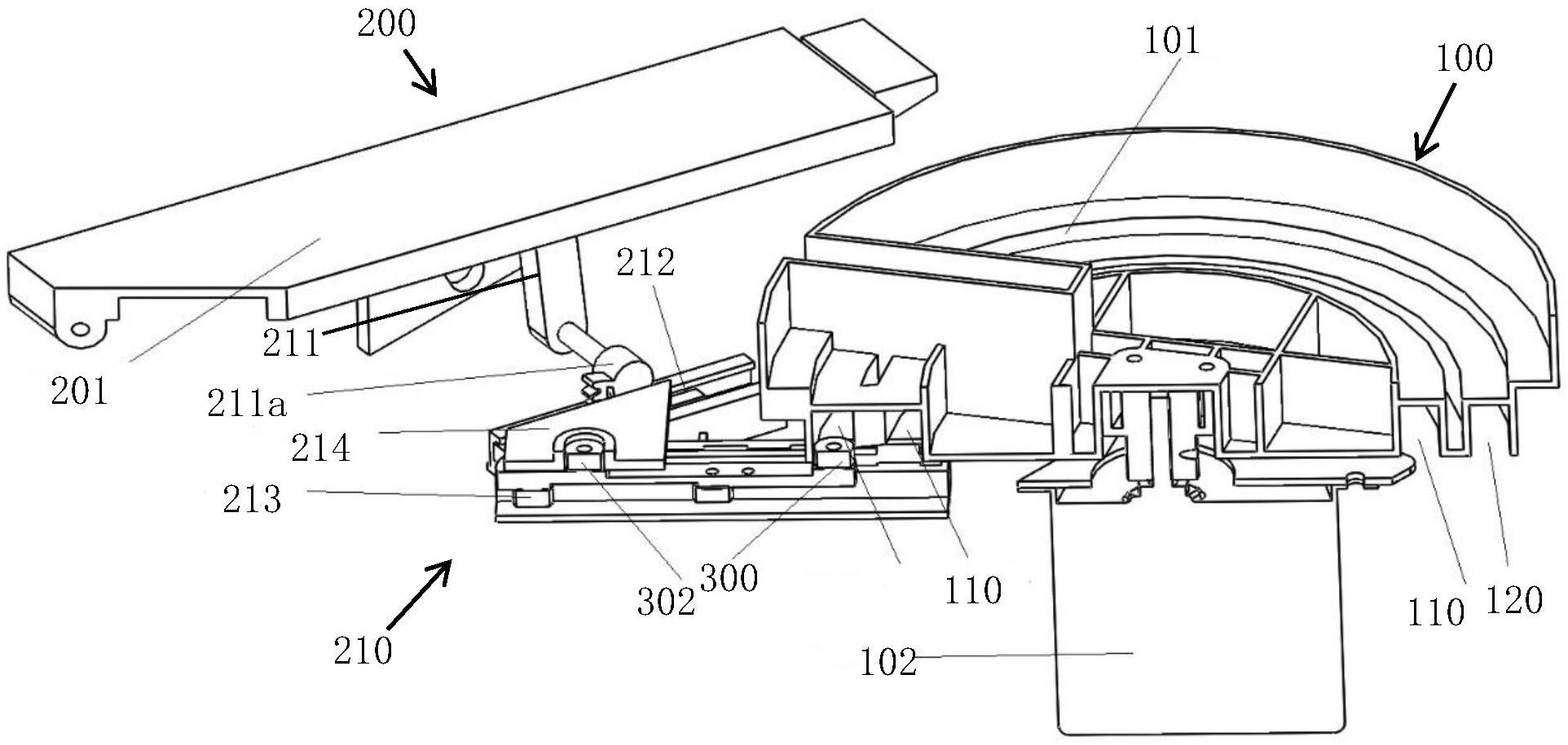
本实用新型公开了一种储牌升牌装置,包括上牌机构和升牌机构,上牌机构的转盘上设有同心的位于内圈的开门环形滑槽和位于外圈的关门环形滑槽,所述开门环形滑槽的首端和关门环形滑槽的首端之间设有第一桥接滑槽,所述开门环形滑槽的尾端和关门环形滑槽的尾端之间设有第二桥接滑槽,还包括有与所述传动机构传动连接的滑头以及施力所述滑头的弹簧。本实用新型通过共用上牌机构的转盘来驱动升牌板的升降,进行关门状态和开门状态的切换,这样仅使用一个电机就能同时驱动上牌机构和升牌机构的工作,具有简化电控系统、降低控制电路成本的优点。


