授权公布号:CN109011551B
低噪音的麻将机送牌装置及其麻将机
有效
申请
2017-06-12
申请公布
2018-12-18
授权
2023-11-21
预估到期
2037-06-12
| 申请号 | CN201710438917.3 |
| 申请日 | 2017-06-12 |
| 申请公布号 | CN109011551A |
| 申请公布日 | 2018-12-18 |
| 授权公布号 | CN109011551B |
| 授权公告日 | 2023-11-21 |
| 分类号 | A63F9/20 |
| 分类 | 运动;游戏;娱乐活动; |
| 申请人名称 | 松冈机电(中国)有限公司 |
| 申请人地址 | 浙江省杭州市萧山经济技术开发区桥南区高新十路122号 |
专利法律状态
2023-11-21
授权
状态信息
授权
2019-01-11
实质审查的生效
状态信息
实质审查的生效;IPC(主分类):A63F9/20;申请日:20170612
2018-12-18
公布
状态信息
公布
摘要
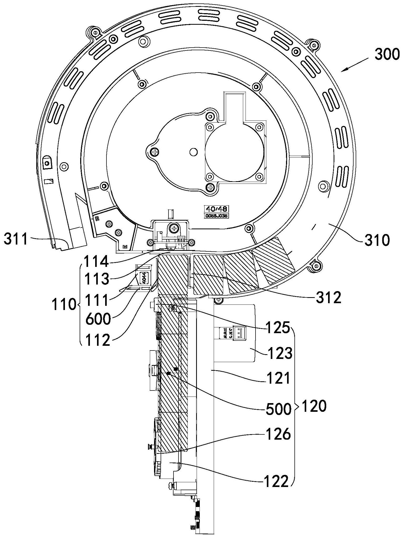
本发明公开了低噪音的麻将机送牌装置及其麻将机,属于棋牌娱乐设备领域,解决了现有麻将机理牌噪音大的问题,本发明麻将机送牌装置,包括送牌部和叠推部,送牌部向叠牌部输送麻将牌,叠推部完成麻将牌叠推,送牌装置还包括用于检测送牌部送牌数量的第一计数器和用于检测叠推部推牌数量的第二计数器,麻将机根据第一计数器和第二计数器的检测数据控制送牌部运行。麻将机的控制系统根据第一计数器和第二计数器的计数差值得出送牌部和叠推部上剩余的麻将牌数量,当剩余麻将牌数量达到系统预设值时,控制系统控制送牌部慢速运行或者停止运行,进一步减小了麻将机的理牌噪音,提升用户体验。


