授权公布号:CN208710990U
自动麻将机的送牌装置及自动麻将机
有效
申请
2018-07-18
申请公布
1970-01-01
授权
2019-04-09
预估到期
2028-07-18
| 申请号 | CN201821141126.0 |
| 申请日 | 2018-07-18 |
| 授权公布号 | CN208710990U |
| 授权公告日 | 2019-04-09 |
| 分类号 | A63F9/20 |
| 分类 | 运动;游戏;娱乐活动; |
| 申请人名称 | 松冈机电(中国)有限公司 |
| 申请人地址 | 浙江省杭州市萧山经济技术开发区桥南区高新十路122号 |
专利法律状态
2019-04-09
授权
状态信息
授权
摘要
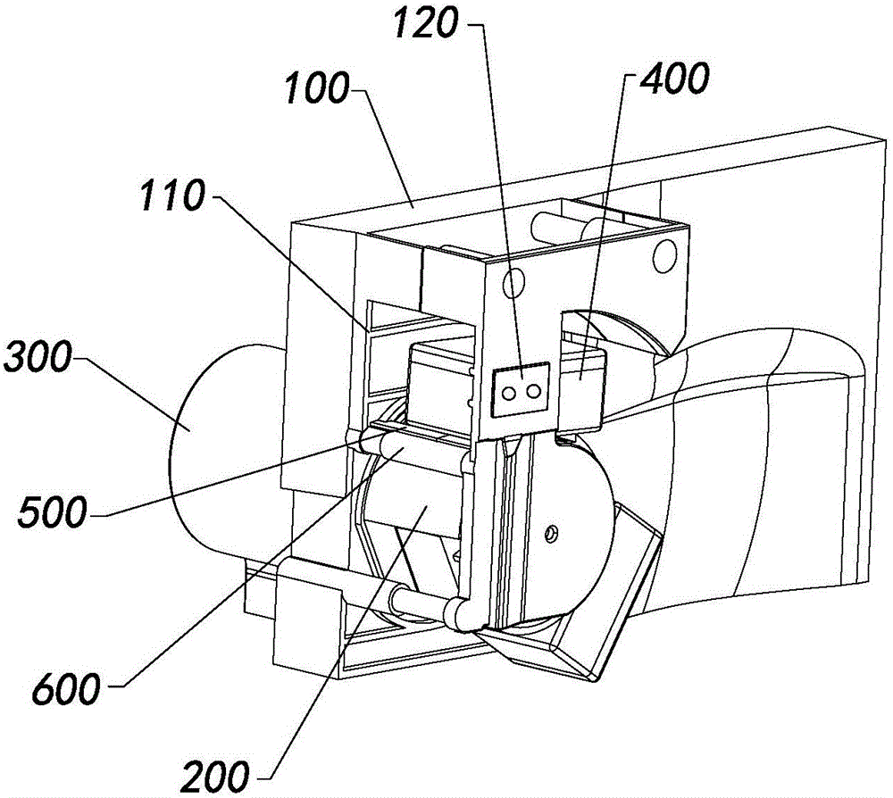
本实用新型公开了自动麻将机的送牌装置及自动麻将机,属于棋牌娱乐设备领域,解决了现有送牌装置的送牌方式结构复杂、成本高等缺陷。本实用新型自动麻将机的送牌装置包括送牌支架、吸牌轮、挡牌件、传感器和控制器,所述吸牌轮安装在所述送牌支架上并由送牌电机驱动旋转,麻将牌吸附于所述吸牌轮上并随所述吸牌轮旋转,所述挡牌件位于麻将牌的旋转轨迹上,用于阻挡运动至所述挡牌件的麻将牌,以使运动至所述挡牌件的麻将牌从所述吸牌轮上分离而送出所述送牌支架,所述传感器连接所述控制器,以用于检测所述吸牌轮上的麻将牌。


