授权公布号:CN208710993U
自动麻将机的送牌装置及自动麻将机
审中
申请
2018-07-18
申请公布
1970-01-01
授权
2019-04-09
预估到期
2028-07-18
| 申请号 | CN201821160158.5 |
| 申请日 | 2018-07-18 |
| 授权公布号 | CN208710993U |
| 授权公告日 | 2019-04-09 |
| 分类号 | A63F9/20 |
| 分类 | 运动;游戏;娱乐活动; |
| 申请人名称 | 松冈机电(中国)有限公司 |
| 申请人地址 | 浙江省杭州市萧山经济技术开发区桥南区高新十路122号 |
专利法律状态
2024-01-02
避免重复授权放弃专利权
状态信息
避免重复授予专利权;IPC(主分类):A63F9/20;专利号:ZL2018211601585;申请日:20180718;授权公告日:20190409;放弃生效日:20240102
2019-04-09
授权
状态信息
授权
摘要
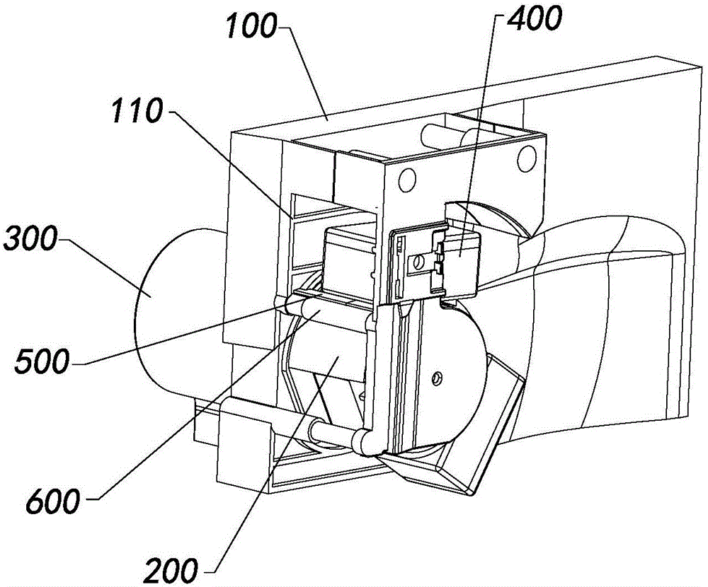
本实用新型公开了自动麻将机的送牌装置及自动麻将机,属于棋牌娱乐设备领域,解决了现有送牌装置的输送送牌方式结构复杂、成本高等缺陷,本实用新型自动麻将机的送牌装置,包括送牌支架、吸牌轮和挡牌件,所述吸牌轮安装在所述送牌支架上并由送牌电机驱动旋转,麻将牌吸附于所述吸牌轮上并随所述吸牌轮旋转,所述挡牌件位于麻将牌的旋转轨迹上,用于阻挡运动至所述挡牌件的麻将牌,以使运动至所述挡牌件的麻将牌从所述吸牌轮上分离而送出所述送牌支架。本实用新型的送牌装置改变了现有依靠输送带送牌的方式,省去了输送带和出牌轮,进而也就省去了输送带的张紧机构,并缩短送牌支架的长度,大幅简化了送牌装置的结构,减小了送牌装置的占用空间。


