授权公布号:CN208710994U
自动麻将机的理牌机构及自动麻将机
有效
申请
2018-07-18
申请公布
1970-01-01
授权
2019-04-09
预估到期
2028-07-18
| 申请号 | CN201821169066.3 |
| 申请日 | 2018-07-18 |
| 授权公布号 | CN208710994U |
| 授权公告日 | 2019-04-09 |
| 分类号 | A63F9/20 |
| 分类 | 运动;游戏;娱乐活动; |
| 申请人名称 | 松冈机电(中国)有限公司 |
| 申请人地址 | 浙江省杭州市萧山经济技术开发区桥南区高新十路122号 |
专利法律状态
2019-04-09
授权
状态信息
授权
摘要
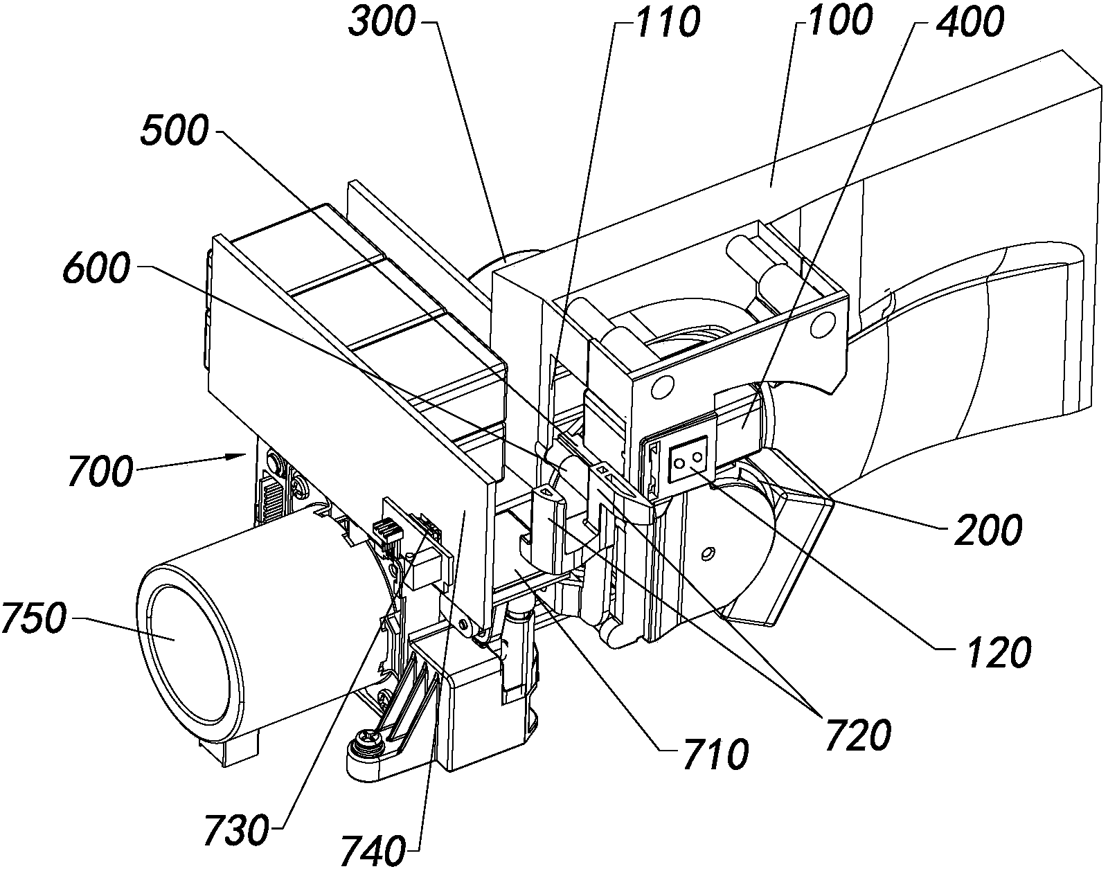
本实用新型公开了自动麻将机的理牌机构及自动麻将机,属于棋牌娱乐设备领域,其中,理牌机构包括控制器、送牌装置和叠推装置,送牌装置包括送牌支架、吸牌轮、挡牌件和第一传感器,吸牌轮安装在送牌支架上并由送牌电机驱动旋转,麻将牌吸附于吸牌轮上并随吸牌轮旋转,挡牌件位于麻将牌的旋转轨迹上,用于阻挡运动至挡牌件的麻将牌,以使运动至挡牌件的麻将牌从吸牌轮上分离而送出送牌支架,第一传感器连接控制器,以用于检测吸牌轮上的麻将牌;叠推装置包括承牌板、推牌块和第二传感器,承牌板用于承接从送牌支架出牌侧送出的麻将牌,推牌块用于将麻将牌推离承牌板,第二传感器连接控制器,以用于检测承牌板上的麻将牌。


