授权公布号:CN208877883U
理牌支架及麻将机
有效
申请
2018-08-16
申请公布
1970-01-01
授权
2019-05-21
预估到期
2028-08-16
| 申请号 | CN201821319960.4 |
| 申请日 | 2018-08-16 |
| 授权公布号 | CN208877883U |
| 授权公告日 | 2019-05-21 |
| 分类号 | A63F9/20 |
| 分类 | 运动;游戏;娱乐活动; |
| 申请人名称 | 松冈机电(中国)有限公司 |
| 申请人地址 | 浙江省杭州市萧山经济技术开发区桥南区高新十路122号 |
专利法律状态
2019-05-21
授权
状态信息
授权
摘要
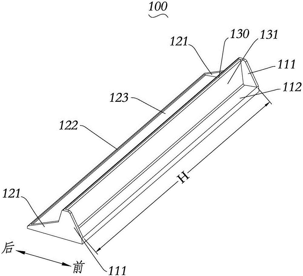
本实用新型公开了理牌支架及麻将机,属于棋牌娱乐设备领域,解决现有麻将娱乐时玩家理牌不方便的问题,本实用新型的理牌支架包括支架本体,所述支架本体前后两侧分别具有手牌放置台和亮牌放置台,所述手牌放置台和所述亮牌放置台之间设有供手牌立放靠置的支承台。玩家整理手牌以及行牌过程中,手牌放置在手牌放置台上并靠置于支承台,使整列手牌放置平稳,即使玩家不慎碰到手牌,也不会将手牌碰翻,避免了手牌碰翻被其他玩家看到的尴尬,同时,支承台可以保证整列手牌摆放整齐,不仅避免了手牌摆放不整齐而被其他玩家看到的问题,也更利于玩家审牌,提升玩牌体验。


