授权公布号:CN116172328B
一种电吹风用风嘴
有效
申请
2023-02-02
申请公布
2023-05-30
授权
2024-03-15
预估到期
2043-02-02
| 申请号 | CN202310076901.8 |
| 申请日 | 2023-02-02 |
| 申请公布号 | CN116172328A |
| 申请公布日 | 2023-05-30 |
| 授权公布号 | CN116172328B |
| 授权公告日 | 2024-03-15 |
| 分类号 | A45D2/36;A45D6/00 |
| 分类 | 手携物品或旅行品; |
| 申请人名称 | 广东罗曼智能科技股份有限公司 |
| 申请人地址 | 广东省东莞市樟木头镇金河新光路18号 |
专利法律状态
2024-03-15
授权
状态信息
授权
2023-05-30
公布
状态信息
公布
摘要
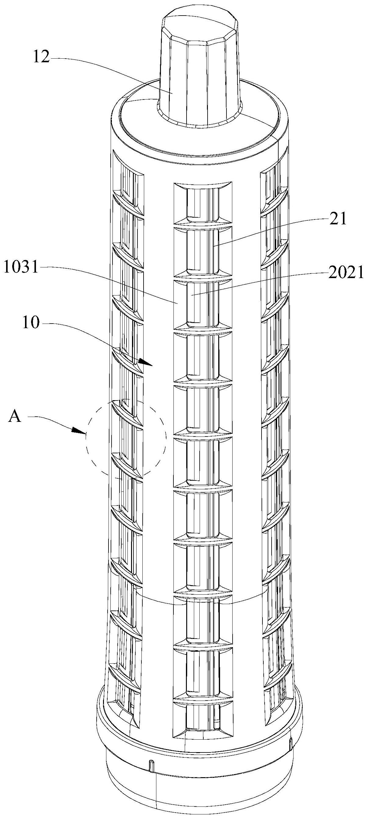
本发明公开了一种电吹风用风嘴,包括有风嘴本体以及阻风件;风嘴本体具有安装腔室以及第一出风口,安装腔的壁面设置有能够降低风流出风角度的第一导风凹位,风流能够流经第一导风凹位并从第一出风口流出;阻风件可转动安装于安装腔内,阻风件能够遮挡第一出风口的左侧或者右侧,以使风流自第一出风口的右侧或者左侧流出。与现有技术相比,通过在安装腔的壁面上设置第一导风凹位,让风流从第一出风口流出前,风流能够通过该第一导风凹位进行导流之后再从第一出风口流出,从而能够降低风流流出时的角度,让风流从第一出风口流出的角度变低,进而能够保证流出的风流能够贴着风嘴本体的侧面进行流动,从而提高风嘴卷发效果。


