授权公布号:CN216266152U
一种机尾旋钮刀头调节结构
有效
申请
2021-10-19
申请公布
1970-01-01
授权
2022-04-12
预估到期
2031-10-19
| 申请号 | CN202122515806.2 |
| 申请日 | 2021-10-19 |
| 授权公布号 | CN216266152U |
| 授权公告日 | 2022-04-12 |
| 分类号 | B26B19/04 |
| 分类 | 手动切割工具;切割;切断; |
| 申请人名称 | 浙江鼎铃电器有限公司 |
| 申请人地址 | 浙江省温州市鹿城区仰义乡中国鞋都沿江工业区29号地块 |
专利法律状态
2022-04-12
授权
状态信息
授权
摘要
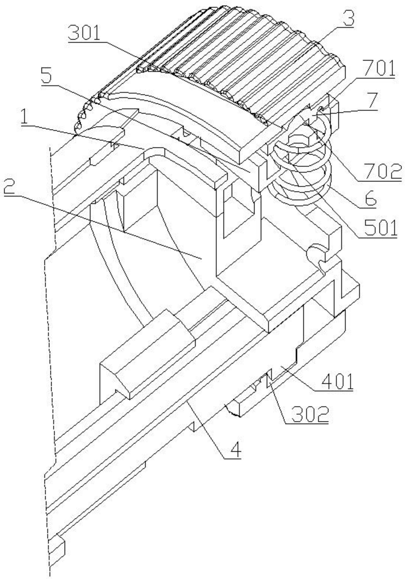
本实用新型公开了一种机尾旋钮刀头调节结构,包括上内主体和下内主体,所述上内主体和所述下内主体组合在一起,所述下内主体下端设有主体凹槽,所述主体凹槽内设有推杆,所述上内主体和所述下内主体外套设有调节旋钮,所述调节旋钮下端内侧面设有内嵌槽,所述调节旋钮上端相对所述内嵌槽的位置设有滑槽,所述滑槽下端设有定位板,所述定位板下端设有弹簧座,所述弹簧座上卡设有所述弹簧;本实用新型刀头调节方便。


