授权公布号:CN212488917U
一种易清洁并防止头发损伤的电卷发棒
有效
申请
2020-03-09
申请公布
1970-01-01
授权
2021-02-09
预估到期
2030-03-09
| 申请号 | CN202020281294.0 |
| 申请日 | 2020-03-09 |
| 授权公布号 | CN212488917U |
| 授权公告日 | 2021-02-09 |
| 分类号 | A45D1/04;A45D6/00 |
| 分类 | 手携物品或旅行品; |
| 申请人名称 | 广州市超霸美发用品用具有限公司 |
| 申请人地址 | 广东省广州市花都区狮岭镇振兴村自编山前大道205号第1-3层(可作厂房使用) |
专利法律状态
2021-02-09
授权
状态信息
授权
摘要
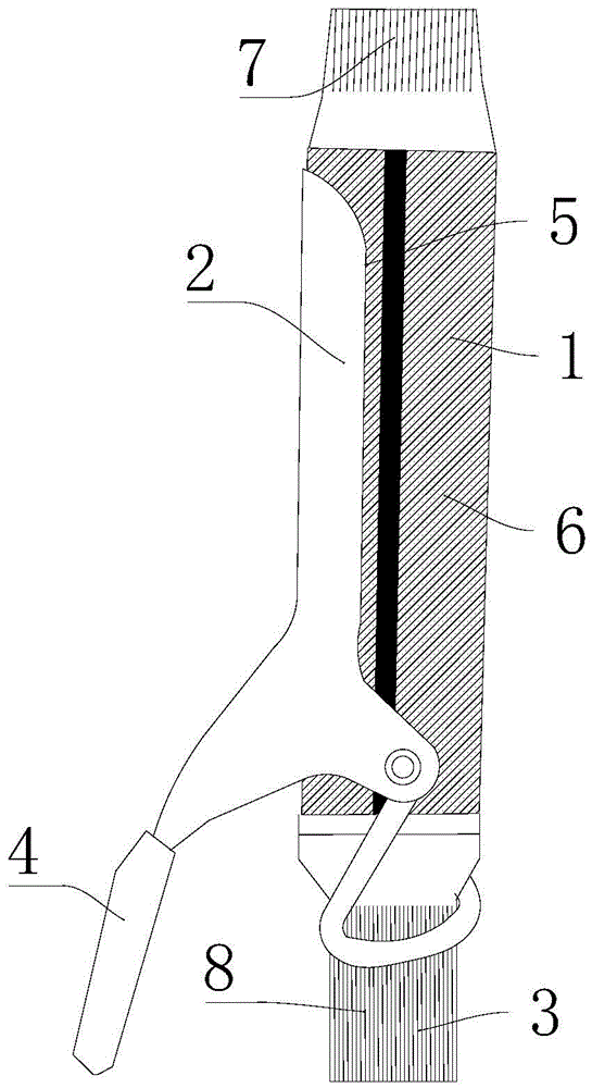
一种易清洁并防止头发损伤的电卷发棒,包括电热棒、夹子和把手,所述夹子设置于所述电热棒上,且可在所述电热棒上开合,所述电热棒的一端连接把手,所述电热棒上设置不粘涂层,所述不粘涂层包裹所述电热棒,且所述不粘涂层占电热棒外侧表面面积的80%以上,所述电热棒的另一端设有端帽。本实用新型能够适合染色后头发使用,易于清洁,且减少电卷发棒对头发伤害。


