授权公布号:CN207745016U
四码数控显示微电脑电饭锅
有效
申请
2017-07-19
申请公布
1970-01-01
授权
2018-08-21
预估到期
2027-07-19
| 申请号 | CN201720877669.8 |
| 申请日 | 2017-07-19 |
| 授权公布号 | CN207745016U |
| 授权公告日 | 2018-08-21 |
| 分类号 | A47J27/00;A47J36/00;A47J36/06 |
| 分类 | 家具;家庭用的物品或设备;咖啡磨;香料磨;一般吸尘器; |
| 申请人名称 | 广东浩特电器有限公司 |
| 申请人地址 | 广东省湛江市吴川市325国道覃巴路段浩特工业城 |
专利法律状态
2018-08-21
授权
状态信息
授权
摘要
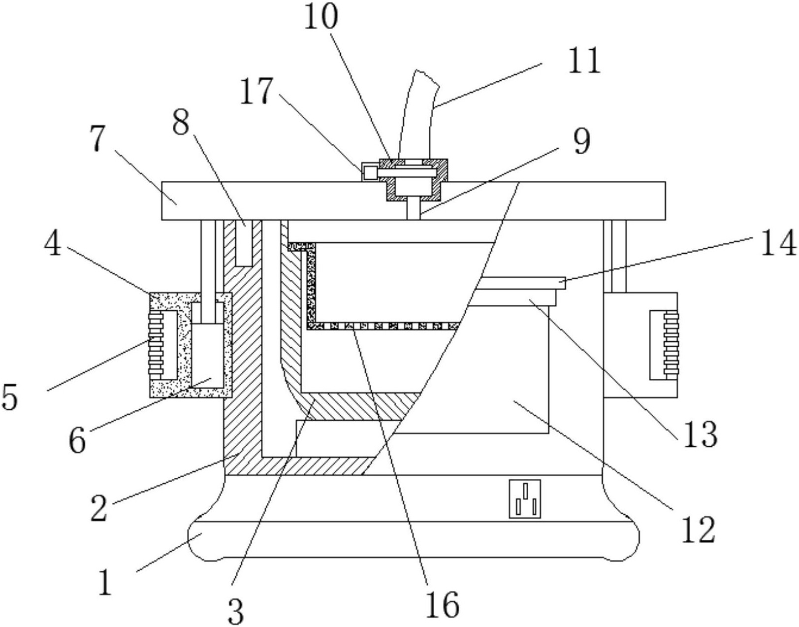
本实用新型公开了四码数控显示微电脑电饭锅,包括底座,所述底座的顶部固定有壳体,且壳体的内部设有内锅,所述内锅的内侧设有与内锅内部连通的第一环形槽,且第一环形槽内套接有位于内锅内的置物盆,所述壳体的两侧固定有对称设置的中空固定块,且中空固定块的内部固定有推杆电机,所述推杆电机的输出轴固定有顶盖,且顶盖位于壳体的顶部上方,所述顶盖的底部固定有封闭环,且顶盖的顶部固定有中空连接块。本实用新型通过中空固定块、推杆电机、顶盖、封闭环和壳体等结构的配合使用,采用电动开盖的方式比传统人力开盖的方式更加灵活,避免了使用者在开盖时被蒸汽烫伤的情况,结构简单,操作方便且安全。


