授权公布号:CN218440705U
一种依据泵抽取产生的负压控制封闭部件打开水通道的机构
有效
申请
2022-08-03
申请公布
1970-01-01
授权
2023-02-03
预估到期
2032-08-03
| 申请号 | CN202222030886.7 |
| 申请日 | 2022-08-03 |
| 授权公布号 | CN218440705U |
| 授权公告日 | 2023-02-03 |
| 分类号 | F16K1/36;F16K1/32;F16K27/02;F16K31/126 |
| 分类 | 工程元件或部件;为产生和保持机器或设备的有效运行的一般措施;一般绝热; |
| 申请人名称 | 广东新功电器有限公司 |
| 申请人地址 | 广东省潮州市饶平县黄冈镇城北工业园区 |
专利法律状态
2023-02-03
授权
状态信息
授权
摘要
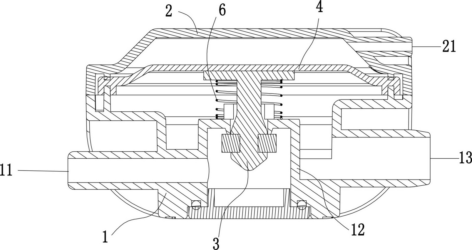
实用新型公开依据泵抽取产生的负压控制封闭部件打开水通道的机构,壳体设有进水口和出水口,受控件设于壳体中,受控件顶部开有通孔,进水口与受控件连通,出水口通过通孔与受控件连通,由封闭部件带动密封圈自下而上封闭通孔而使受控件与出水口不连通,壳体中还设置有弹性膜片,弹性膜片将受控件、进水口和出水口封闭,且弹性膜片位于封闭部件上方,封闭部件套装有弹簧,弹簧使封闭部件下部自下而上移动并由密封圈封闭通孔,且弹簧使封闭部件上部向上接近或接触着弹性膜片,由弹性膜片受负压作用形变而克服弹簧带动封闭部件由上而下移动且由密封圈与通孔脱离而打开水通道。机构不需要电的供给,能利用负压进行工作,实现自动打开水通道。


