授权公布号:CN218326475U
一种依据泵抽取产生的负压控制封闭部件打开水通道的机构
有效
申请
2022-07-21
申请公布
1970-01-01
授权
2023-01-17
预估到期
2032-07-21
| 申请号 | CN202221891547.1 |
| 申请日 | 2022-07-21 |
| 授权公布号 | CN218326475U |
| 授权公告日 | 2023-01-17 |
| 分类号 | F16K31/126;F16K1/38;A47J31/46 |
| 分类 | 工程元件或部件;为产生和保持机器或设备的有效运行的一般措施;一般绝热; |
| 申请人名称 | 广东新功电器有限公司 |
| 申请人地址 | 广东省潮州市饶平县黄冈镇城北工业园区 |
专利法律状态
2023-01-17
授权
状态信息
授权
摘要
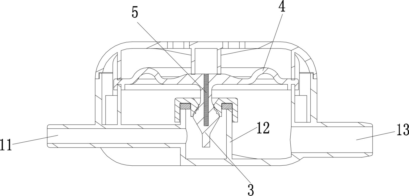
本实用新型公开一种依据泵抽取产生的负压控制封闭部件打开水通道的机构,包括壳体,其中,壳体于侧面设有进水口和出水口,受控件设于壳体中,受控件顶部开有通孔,进水口与受控件连通,出水口通过通孔而与受控件连通,可由封闭部件自下而上封闭在通孔中而使受控件与出水口不连通,其特征是,壳体内部还设置有弹性膜片,弹性膜片将受控件、进水口和出水口封闭,且封闭部件与弹性膜片连接,由弹性膜片恢复形变带动封闭部件由下而上移动且由封闭部件将通孔封闭。


