授权公布号:CN215077615U
一种可调节的奶泡发生器
有效
申请
2021-06-10
申请公布
1970-01-01
授权
2021-12-10
预估到期
2031-06-10
| 申请号 | CN202121301224.8 |
| 申请日 | 2021-06-10 |
| 授权公布号 | CN215077615U |
| 授权公告日 | 2021-12-10 |
| 分类号 | A47J31/44;A47J31/00 |
| 分类 | 家具;家庭用的物品或设备;咖啡磨;香料磨;一般吸尘器; |
| 申请人名称 | 万事达(杭州)咖啡机有限公司 |
| 申请人地址 | 浙江省杭州市余杭区良渚街道良运街481号 |
专利法律状态
2021-12-10
授权
状态信息
授权
摘要
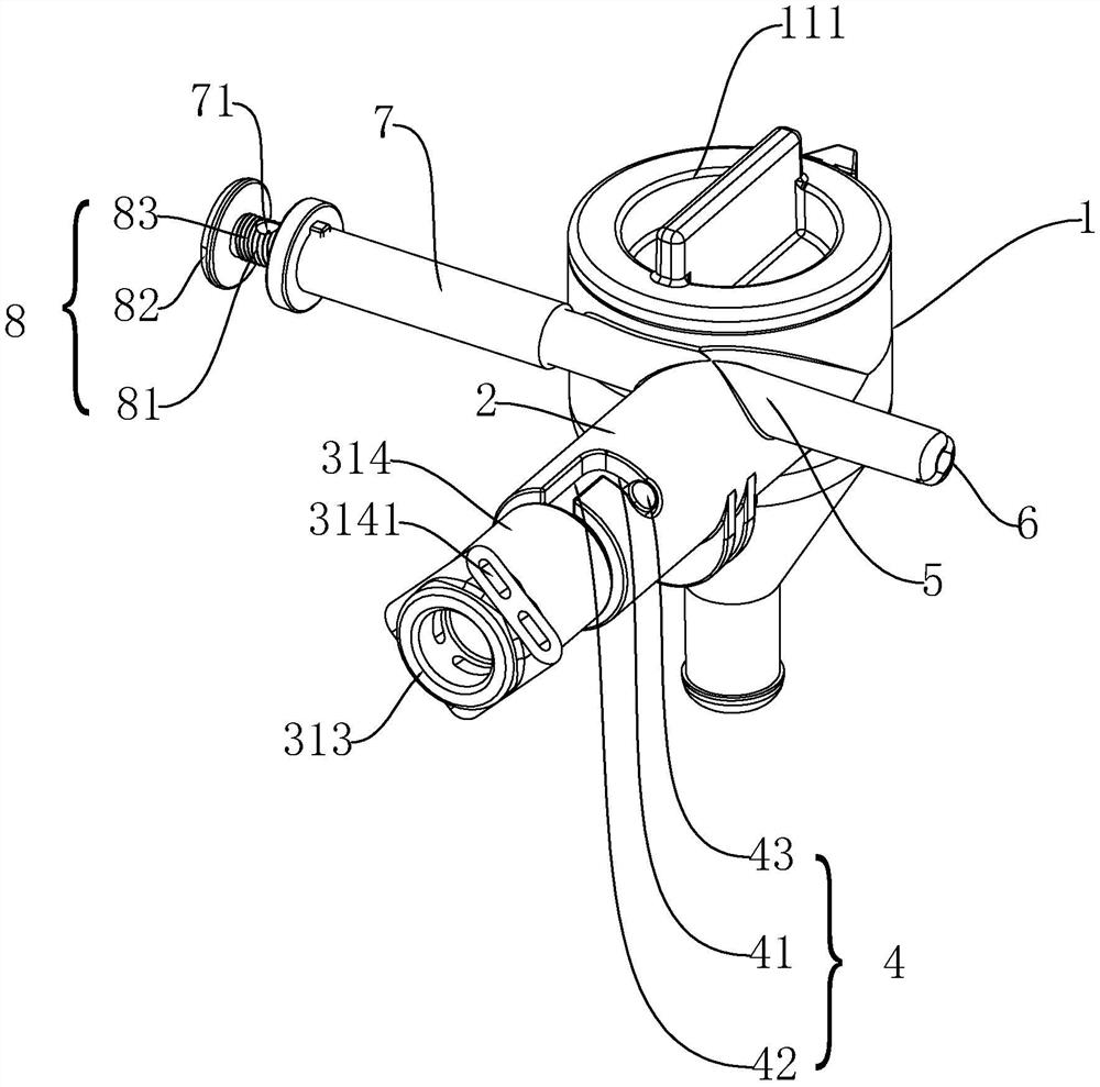
本申请涉及奶泡制备技术领域,尤其涉及一种可调节的奶泡发生器,包括本体,本体包括容纳机构和与容纳机构外侧壁垂直连接的连接通道,连接通道内设有缓冲室,缓冲室内设有进气组件,缓冲室朝向容纳机构的一端中心处设有进液口,进液口上方设有连接管,连接管与连接通道垂直设置,连接管中间设有导入口,连接管通过导入口与缓冲室空间连通,连接管两端口分别连接连通设有进奶通道和空气通道,空气通道远离连接管的一侧设有调节组件,调节组件上设有空气进口;容纳机构底部设有出液口;蒸汽由进气组件通过进液口进入容纳机构的同时产生的负压带动牛奶和空气进入容纳机构,三者混合形成奶泡,通过调节空气进入量形成不同口感的奶泡,满足不同需求。


