授权公布号:CN2874345Y
中温储水式速热补偿电热水器
审中
申请
2006-01-05
申请公布
1970-01-01
授权
2007-02-28
预估到期
2016-01-05
| 申请号 | CN200620002576.2 |
| 申请日 | 2006-01-05 |
| 授权公布号 | CN2874345Y |
| 授权公告日 | 2007-02-28 |
| 分类号 | F24H1/44 |
| 分类 | 供热;炉灶;通风; |
| 申请人名称 | 浙江康泉电器有限公司 |
| 申请人地址 | 浙江省温州市经济技术开发区西片康泉工业园 |
专利法律状态
2009-09-09
专利权的无效、部分无效宣告(专利权全部无效)
状态信息
专利权的无效、部分无效宣告(专利权全部无效)无效宣告决定号:12260无效宣告决定日:2008.9.10
2007-02-28
授权
状态信息
授权
摘要
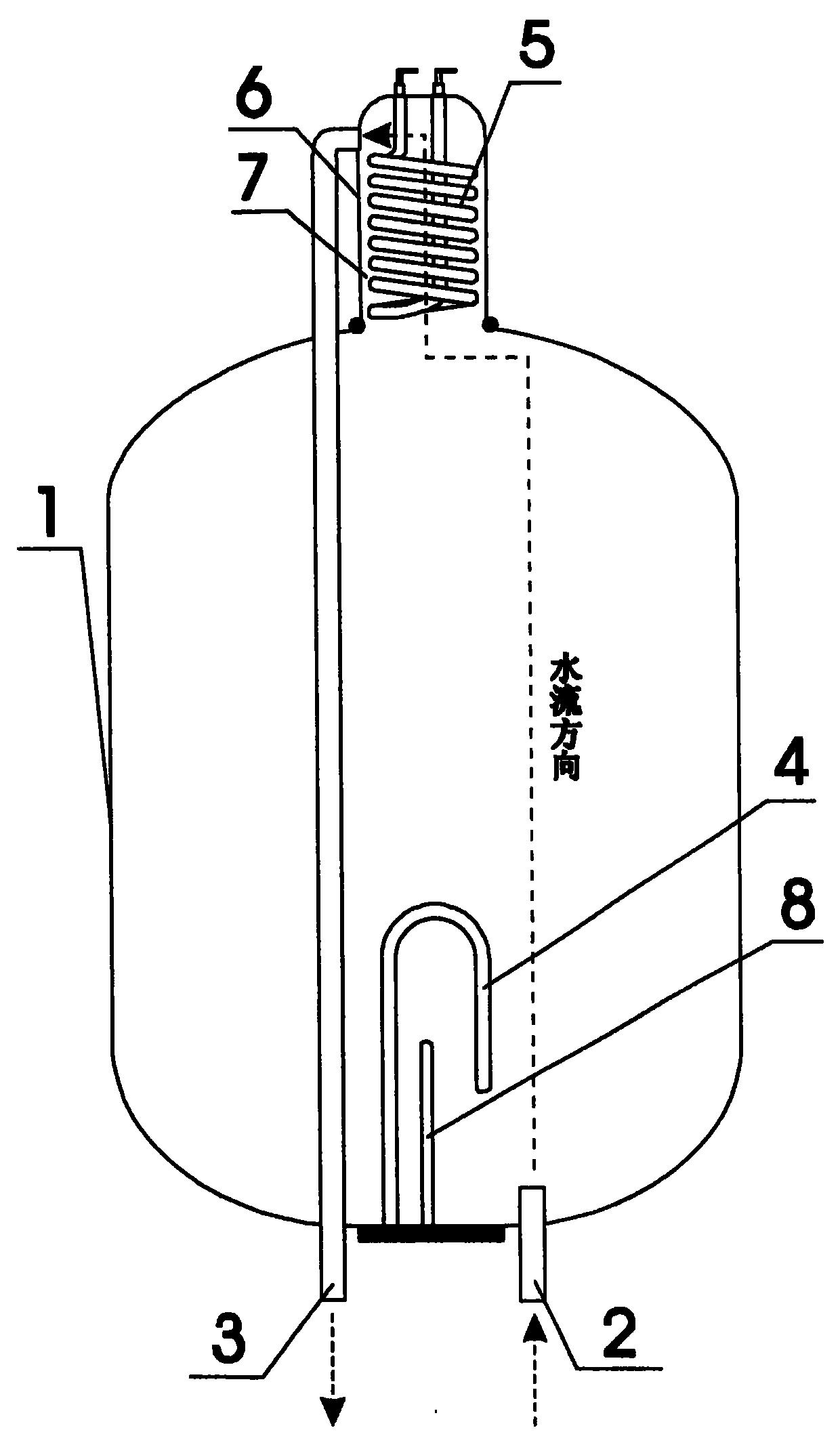
本实用新型公开了一种中温储水式速热补偿电热水器,属于电热水器技术领域。该电热水器包括内胆、一次加热器、速热补偿加热器、防混热装置、进水管、出水管、温控器;防混热装置位于出水管路上或在其周围并与内胆或速热补偿加热器间形成一个水流通道,冷水在内胆内经一次加热器加热至中温并储存,在使用时,中温水流在水流通道间速热补偿升温,达到中温储水、速热补偿升温变容之目的。本实用新型节能实用,能按用户的热水用量进行非传统意义上的动态微分变容效果,减少浪费,节省费用。


