授权公布号:CN210350999U
一种水泠电磁驱动变频器
有效
申请
2019-09-05
申请公布
1970-01-01
授权
2020-04-17
预估到期
2029-09-05
| 申请号 | CN201921471083.7 |
| 申请日 | 2019-09-05 |
| 授权公布号 | CN210350999U |
| 授权公告日 | 2020-04-17 |
| 分类号 | H02M1/00;H01L23/473;H05K7/20 |
| 分类 | 发电、变电或配电; |
| 申请人名称 | 杭州真心热能电器有限公司 |
| 申请人地址 | 浙江省杭州市临安市青山湖街道南环路67号 |
专利法律状态
2020-04-17
授权
状态信息
授权
摘要
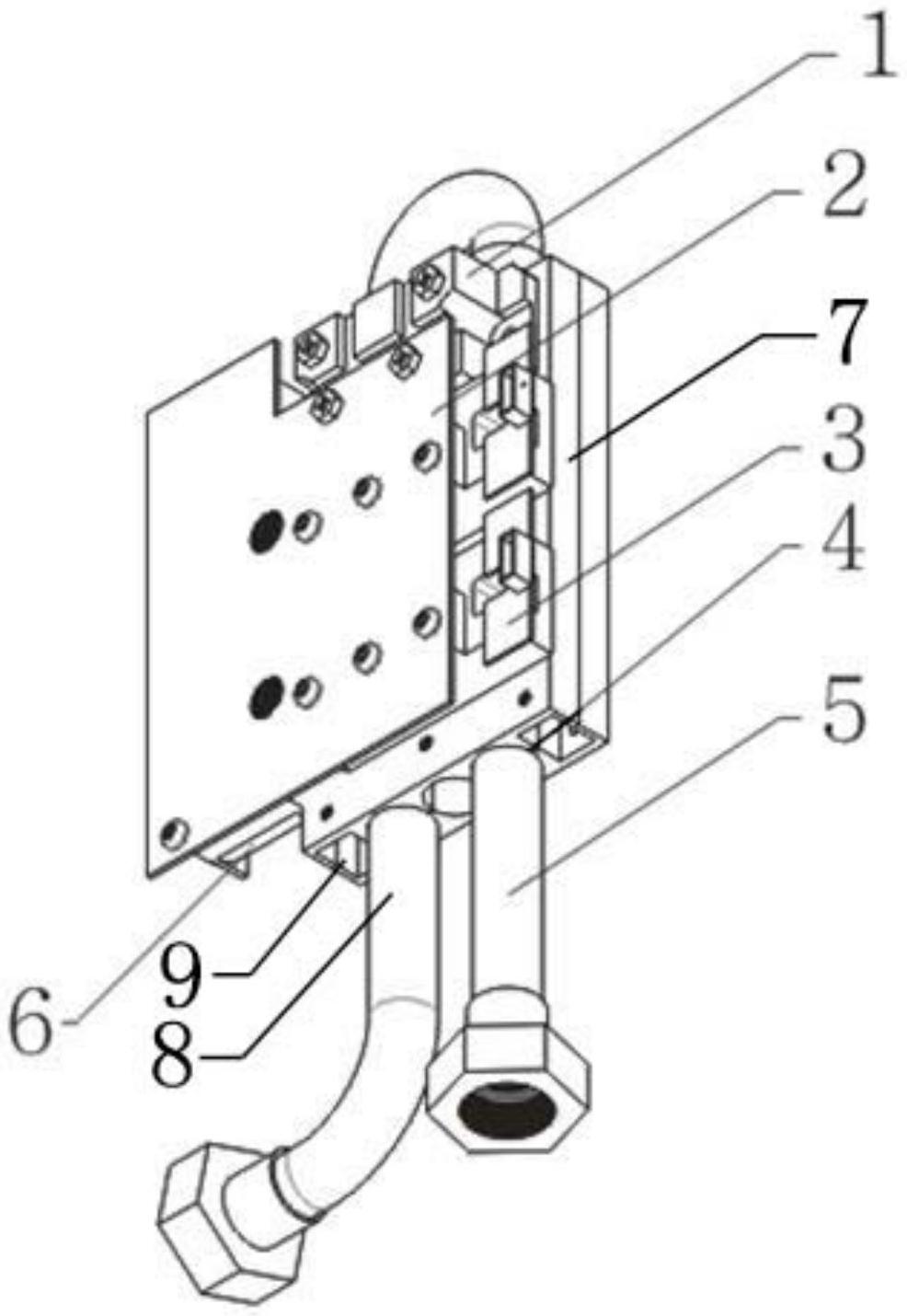
本实用新型涉及一种水泠电磁驱动变频器。现有技术的缺点:变频器散热采用风冷散热,加工复杂,体积大成本高,整机能耗大,节能受到限制。本实用新型包括整流桥、IGBT模块、散热器、电路板和电子元器件,IGBT模块实现正弦高频电压输出,散热器与IGBT模块和整流桥连接,所述散热器包括外壳体,外壳体内形成多个供水管插入的槽孔,所述的水管呈U形,两个分支插入外壳体的槽孔内,水管与散热器装配成一个整体。本实用新型结构简单,节能,寿命长,使用舒适。


