授权公布号:CN215765960U
冰柜
有效
申请
2021-09-29
申请公布
1970-01-01
授权
2022-02-08
预估到期
2031-09-29
| 申请号 | CN202122386444.1 |
| 申请日 | 2021-09-29 |
| 授权公布号 | CN215765960U |
| 授权公告日 | 2022-02-08 |
| 分类号 | F25D11/00;F25D17/08;F25D23/02 |
| 分类 | 制冷或冷却;加热和制冷的联合系统;热泵系统;冰的制造或储存;气体的液化或固化; |
| 申请人名称 | 银都餐饮设备股份有限公司 |
| 申请人地址 | 浙江省杭州市余杭区星桥街道星星路1号 |
专利法律状态
2022-02-08
授权
状态信息
授权
摘要
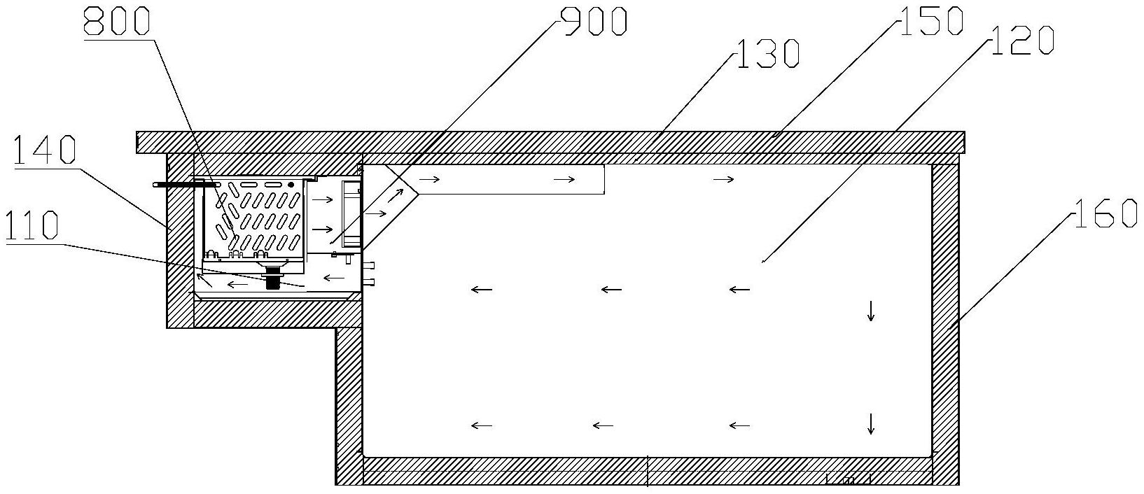
本实用新型提供了一种冰柜,涉及制冷设备的技术领域,该冰柜包括冰柜主体和铰接在所述冰柜主体上的盖板;所述风冷结构包括出风口和进风口;所述出风口处设置有导风板,所述导风板能够与所述盖板形成第一导风通道,且所述第一导风通道向远离所述风冷结构的方向延伸。本实用新型提供的冰柜的导风板与盖板形成第一导风通道,第一导风通道与盖板相连设置,即此时的第一导风通道位于容腔的较高处;这样在容腔内存放产品的时候,产品不会堵塞第一导风通道的出口,即风冷结构的出风口不易被堵塞;同时,第一导风通道将风冷结构的出风口的吹出的冷风导向远处,有利于冷风在容腔内扩散,有利于容腔的冷风的循环。


