授权公布号:CN205715988U
双手柄电热水龙头
失效
申请
2016-05-31
申请公布
1970-01-01
授权
2016-11-23
预估到期
2026-05-31
| 申请号 | CN201620517150.4 |
| 申请日 | 2016-05-31 |
| 授权公布号 | CN205715988U |
| 授权公告日 | 2016-11-23 |
| 分类号 | F16K49/00;F16K31/60;F16K27/00 |
| 分类 | 工程元件或部件;为产生和保持机器或设备的有效运行的一般措施;一般绝热; |
| 申请人名称 | 杭州桐庐科艺科技有限公司 |
| 申请人地址 | 浙江省杭州市桐庐经济开发区春江东路1628号 |
专利法律状态
2023-06-09
专利权的终止
状态信息
未缴年费专利权终止;IPC(主分类):F16K49/00;申请日:20160531;授权公告日:20161123
2016-11-23
授权
状态信息
授权
摘要
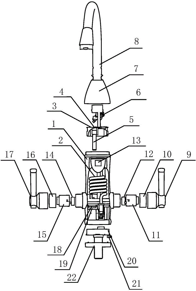
本实用新型公开了一种双手柄电热水龙头,包括机壳(1)、出水口连接件(3)、进水口连接件(20)、上盖(7)、出水管(8)、加热管(2)、冷水手柄(9)、冷水阀压盖(10)、冷水控制阀(11)、热水控制阀(15)、热水阀压盖(16)及热水手柄(17)等;所述冷水手柄(9)控制冷水控制阀信号孔(27)、冷水控制阀出水孔(26)、冷水控制阀进水孔(28)之间的相通关闭;所述热水手柄(17)控制热水控制阀进水孔(25)、热水控制阀出水孔(23)及热水控制阀信号孔(24)之间的相通关闭。该双手柄电热水龙头具有双温控且加热速度快的优点。


