授权公布号:CN207006515U
恒温小厨宝
有效
申请
2017-07-24
申请公布
1970-01-01
授权
2018-02-13
预估到期
2027-07-24
| 申请号 | CN201720894818.1 |
| 申请日 | 2017-07-24 |
| 授权公布号 | CN207006515U |
| 授权公告日 | 2018-02-13 |
| 分类号 | F24H1/10;F24H9/00;F24H9/20;F24H9/18 |
| 分类 | 供热;炉灶;通风; |
| 申请人名称 | 杭州桐庐科艺科技有限公司 |
| 申请人地址 | 浙江省杭州市桐庐经济开发区春江东路1628号 |
专利法律状态
2018-02-13
授权
状态信息
授权
摘要
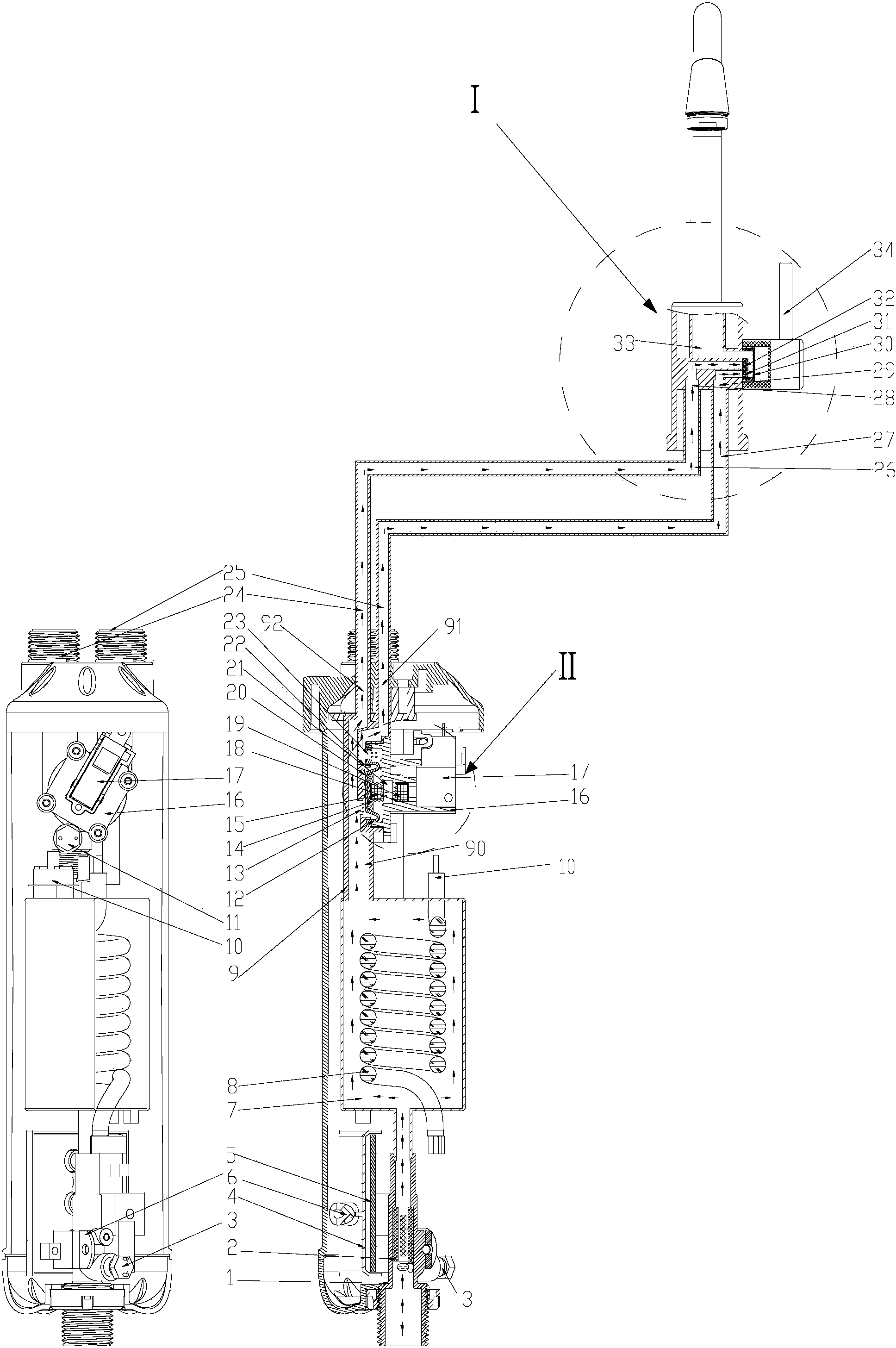
本实用新型提供一种恒温小厨宝,包括电控制结构和水控制结构,以及依次密封相连的进水结构、加热结构和出水结构;水控制结构分别与出水结构和加热结构相连,用于判断用户是否需要热水,并在用户使用热水或混水时令加热结构工作;电控制结构与水控制结构相连,用于检测水流,以及加热前后的水温,控制加热结构所加热的温度并实现超温保护;本实用新型仅在进水结构中有水流通,且当用户使用热水或混水时令加热结构进行加热,减少了能耗的同时提高了安全性。本实用新型中水均通过加热结构后从出水结构中流出,当使用冷水时加热结构不工作,使用热水或混水时能够加热水并保持恒温,为用户提供恒温的水,满足用户需求的同时提高用户体验。


