授权公布号:CN216845118U
步进式节能开水器
有效
申请
2021-05-10
申请公布
1970-01-01
授权
2022-06-28
预估到期
2031-05-10
| 申请号 | CN202120994003.7 |
| 申请日 | 2021-05-10 |
| 授权公布号 | CN216845118U |
| 授权公告日 | 2022-06-28 |
| 分类号 | F24H1/20;F24H9/00;F24H9/1818;F24H9/25 |
| 分类 | 供热;炉灶;通风; |
| 申请人名称 | 广东恒联食品机械有限公司 |
| 申请人地址 | 广东省广州市番禺区石楼镇砺江路95号 |
专利法律状态
2022-06-28
授权
状态信息
授权
摘要
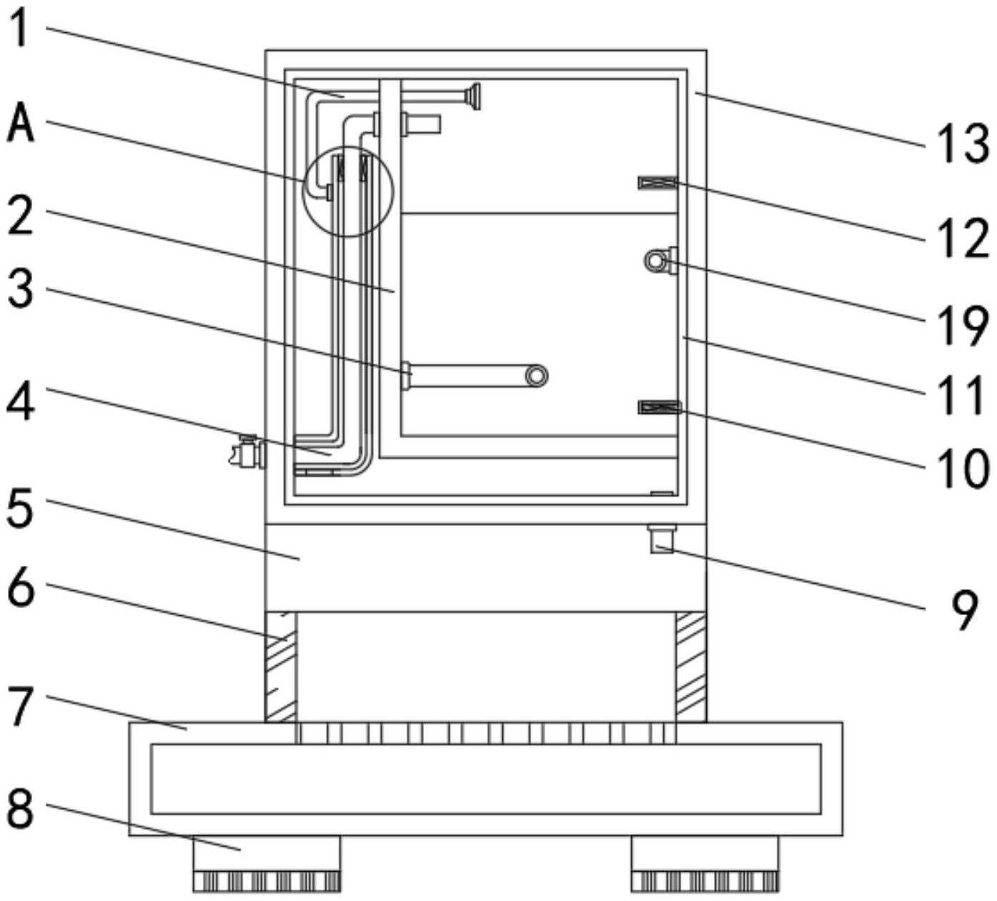
本实用新型涉及开水器技术领域,且公开了步进式节能开水器,包括底座,所述底座的上端固定设置有背板,所述背板上固定设置有箱体,所述箱体上设置有出水头,所述箱体的下端设置有围栏,所述箱体内还设置有水箱,所述水箱的左侧设置有余热回收结构,所述水箱的内腔还设置有上水加热结构,所述余热回收结构包括固定在箱体内腔左侧壁的蒸汽套管,所述蒸汽套管上设置有贯穿水箱内的进气管。该步进式节能开水器,通过设置余热回收结构,在开水器对水进行加热时,所产生的水蒸气可以加以利用,对水进行加热,从而减少开水器加热时间,节约电能,使得装置更加节能环保。


