授权公布号:CN211432302U
一种具有控温控水功能的商用电磁蒸箱
有效
申请
2018-12-20
申请公布
1970-01-01
授权
2020-09-08
预估到期
2028-12-20
| 申请号 | CN201822163728.2 |
| 申请日 | 2018-12-20 |
| 授权公布号 | CN211432302U |
| 授权公告日 | 2020-09-08 |
| 分类号 | A47J27/16;A47J36/00 |
| 分类 | 家具;家庭用的物品或设备;咖啡磨;香料磨;一般吸尘器; |
| 申请人名称 | 江西摩力斯科技股份有限公司 |
| 申请人地址 | 江西省赣州市赣州经济技术开发区纬三路5号 |
专利法律状态
2020-09-08
授权
状态信息
授权
摘要
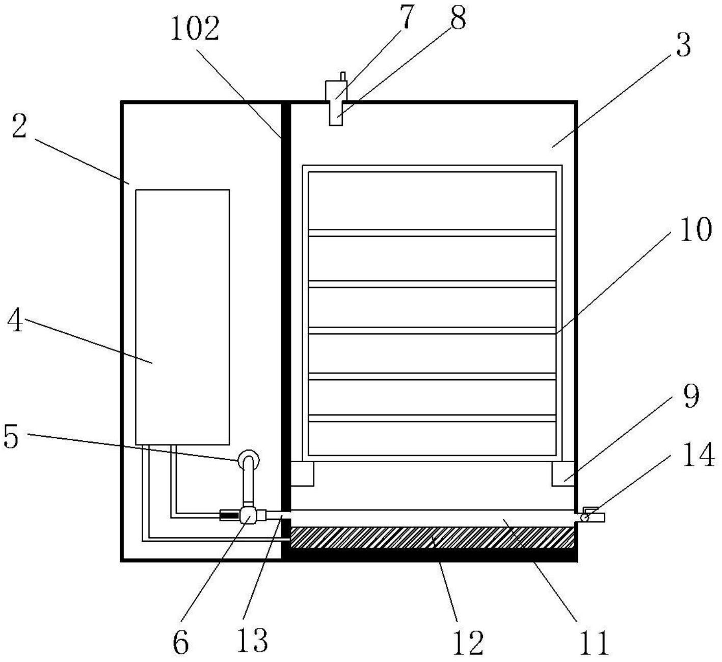
本实用新型公开了一种具有控温控水功能的商用电磁蒸箱,包括箱体,箱体底部的四角固定连接有支架腿,所述箱体的内部固定连接有隔板,所述隔板的左侧固定连接有调控箱,所述隔板的右侧固定连接有加热室,所述调控箱前端的中央固定连接有调节面板,所述调控箱的后侧被进水管贯穿,所述进水管的前端固定连接有电磁阀,所述加热室的前端固定连接有箱门,所述箱门的中部开设有观察窗,所述加热室的顶部被排气管贯穿。该具有控温控水功能的商用电磁蒸箱,相较传统的电磁蒸箱而言,具有可观察内部、自由调节加热度及注水量的功能,使用时可以通过调节面板来控制电磁阀调节注水量,加热管具有温控功能,能调控温度,蒸箱的拉门上开设有观察窗。


