授权公布号:CN109930936B
液压闭门器
有效
申请
2019-03-22
申请公布
2019-06-25
授权
2020-09-22
预估到期
2039-03-22
| 申请号 | CN201910223468.X |
| 申请日 | 2019-03-22 |
| 申请公布号 | CN109930936A |
| 申请公布日 | 2019-06-25 |
| 授权公布号 | CN109930936B |
| 授权公告日 | 2020-09-22 |
| 分类号 | E05F15/50 |
| 分类 | 锁;钥匙;门窗零件;保险箱; |
| 申请人名称 | 温州欧德门控科技发展有限公司 |
| 申请人地址 | 浙江省温州市经济技术开发区金海园区金海一道316号 |
专利法律状态
2020-09-22
授权
状态信息
授权
2019-07-19
实质审查的生效
状态信息
实质审查的生效IPC(主分类):E05F 15/50
2019-06-25
公布
状态信息
公布
摘要
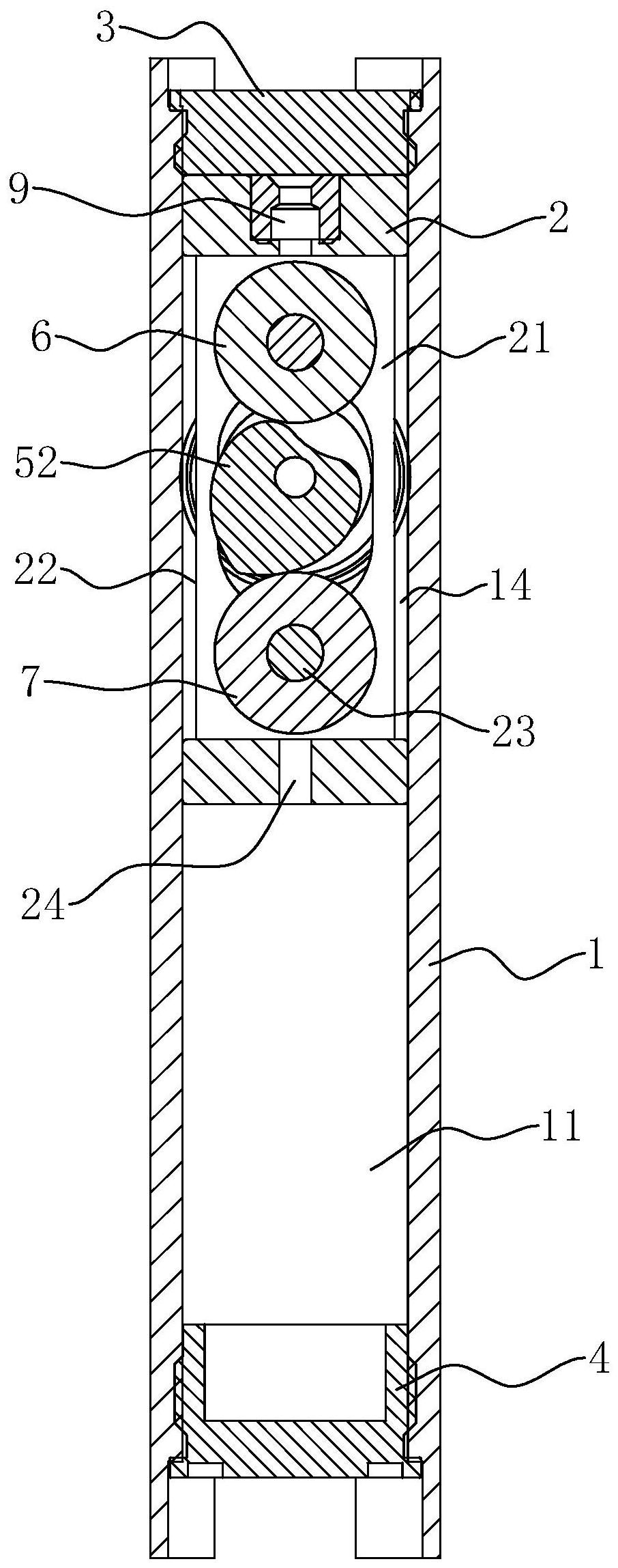
本发明公开了一种液压闭门器,涉及闭门器技术领域,包括壳体、活塞、前端盖、后端盖、凸轮、第一单向阀、第二单向阀、第一转动轮和第二转动轮,壳体内设置有储满液压油的空腔,活塞设置于空腔内且与壳体内壁滑动密封连接,活塞与前端盖之间形成有第一空腔,活塞与后端盖之间形成有第二空腔,凸轮布置于第一转动轮和第二转动轮之间、且分别与第一转动轮和第二转动轮的圆周面相抵触,在凸轮上开设有弧形缼槽,当门闭合时,第一转动轮置于弧形缼槽内,第二转动轮与凸轮的凸起部抵触,在门开启至最大转角时,第一转动轮抵触于凸轮凸起部的侧边,第二转动轮抵触于弧形缼槽的一侧边;具有开关门声音轻,提高其使用操作性的作用。


