授权公布号:CN204742384U
感应加热油炸炉
有效
申请
2015-04-25
申请公布
1970-01-01
授权
2015-11-11
预估到期
2025-04-25
| 申请号 | CN201520254550.6 |
| 申请日 | 2015-04-25 |
| 授权公布号 | CN204742384U |
| 授权公告日 | 2015-11-11 |
| 分类号 | A21B5/08 |
| 分类 | 焙烤;制作或处理面团的设备;焙烤用面团〔1,8〕; |
| 申请人名称 | 广东澳得科技有限公司 |
| 申请人地址 | 广东省揭阳市普宁市科技园区 |
专利法律状态
2015-11-11
授权
状态信息
授权
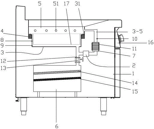
摘要
感应加热油炸炉,炸缸固定在柜体中,炸缸的内壁上成型有炸缸台阶,过滤缸上成型有升降杆插窝和振动磁芯插窝,壳体固定在柜体上,升降杆的上端插套在升降杆插窝中,升降复位弹簧插套在升降杆上,升降杆的上端作用力地过滤缸、下端作用力于升降降杆;振动套成型或固定在壳体上,振动复位弹簧和振动磁芯插套在振动套中,振动磁芯的上端插套在振动磁芯插窝中,电磁线圈置于振动套的外部且插套在振动套上;炸缸上安装有炸缸液位探头和炸缸温度探头,位于油加热室与出油管相通接的回油管道上安装有加热室温度探头。它油油温均匀,温差少,能提高油使用率。它能控制油温减小油温温幅,将油温恒定在设定值。


