授权公布号:CN212878948U
一种自动控温型的蒸汽奶泡机
有效
申请
2020-06-11
申请公布
1970-01-01
授权
2021-04-06
预估到期
2030-06-11
| 申请号 | CN202021076319.X |
| 申请日 | 2020-06-11 |
| 授权公布号 | CN212878948U |
| 授权公告日 | 2021-04-06 |
| 分类号 | A47J31/44 |
| 分类 | 家具;家庭用的物品或设备;咖啡磨;香料磨;一般吸尘器; |
| 申请人名称 | 无锡市金城环保炊具设备有限公司 |
| 申请人地址 | 江苏省无锡市滨湖区太湖街道双新经济园区雪丰路30号 |
专利法律状态
2021-04-06
授权
状态信息
授权
摘要
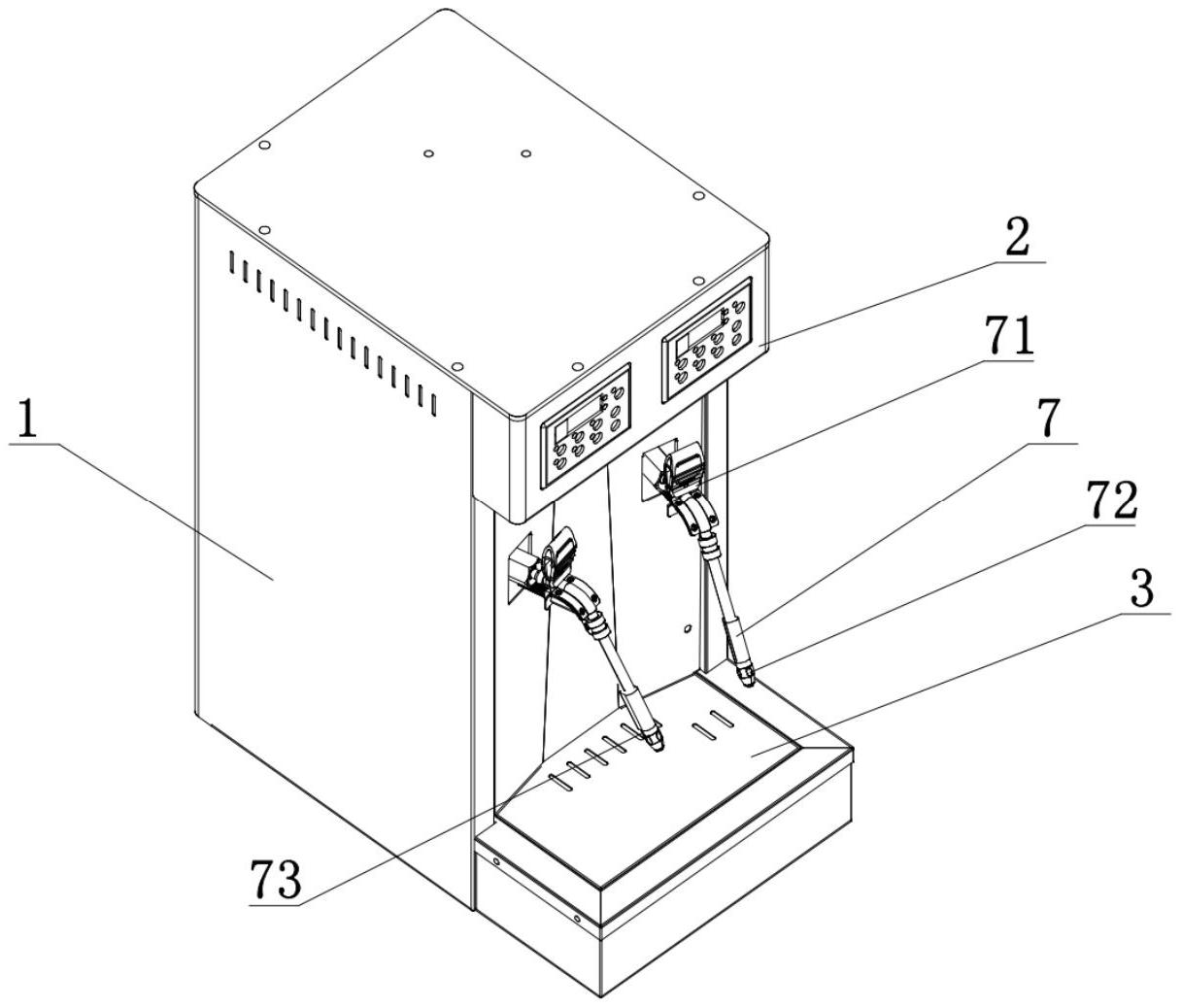
本实用新型涉及一种自动控温型的蒸汽奶泡机,包括安装箱体和操作显示控制模块,所述操作显示控制模块连接在安装箱体前侧上端,且安装箱体位于操作显示控制模块下侧位置连接接水托盘,所述安装箱体内安装补水泵和蒸气发生筒,所述补水泵通过水管连接蒸气发生筒,所述蒸气发生筒内连接电加热器,所述安装箱体位于接水托盘上侧位置连接蒸气喷管,所述蒸气喷管通过蒸气管与蒸气发生筒上端连接,所述蒸气喷管上连接蒸气阀,所述蒸气喷管下端连接喷头,所述蒸气喷管位于喷头下侧连接外测温头,所述外测温头和蒸气阀均与操作显示控制模块连接,所述自动控温型的蒸汽奶泡机,可实时检测饮品温度,将饮品加热至设定温度,满足多样化要求。


