授权公布号:CN218033515U
一种冷库送风机构
有效
申请
2022-07-20
申请公布
1970-01-01
授权
2022-12-13
预估到期
2032-07-20
| 申请号 | CN202221875175.3 |
| 申请日 | 2022-07-20 |
| 授权公布号 | CN218033515U |
| 授权公告日 | 2022-12-13 |
| 分类号 | F24F7/003;F24F7/007;F24F8/90;F24F13/02;F04D25/08;F04D29/70 |
| 分类 | 供热;炉灶;通风; |
| 申请人名称 | 山东省鲁宝厨业有限公司 |
| 申请人地址 | 山东省滨州市博兴县兴福镇工业区 |
专利法律状态
2022-12-13
授权
状态信息
授权
摘要
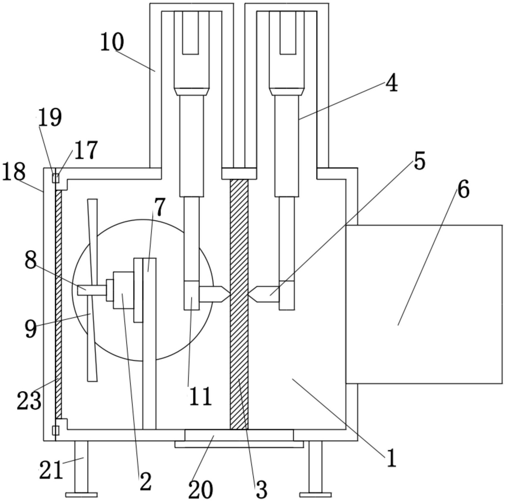
本实用新型公开了一种冷库送风机构,包括矩形箱体,所述矩形箱体内送风结构;所述送风结构包括:第一伺服电机、过滤板、伸缩电机以及刮板;所述矩形箱体后壁面开设有进风口,所述进风口内插装有进风管,所述矩形箱体前壁面开设有第一出风口,所述矩形箱体内安装有第一支架,所述第一伺服电机安置于第一支架上,所述第一伺服电机驱动端上安装有第一连接杆,所述第一连接杆上安装有第一叶片,本实用新型涉及冷库送风技术领域。通过送风结构,便于空气进入本装置后,提高流速,便于合理的送风。


