授权公布号:CN213713336U
一种调节建筑物内部物理环境的系统
有效
申请
2020-10-20
申请公布
1970-01-01
授权
2021-07-16
预估到期
2030-10-20
| 申请号 | CN202022359365.7 |
| 申请日 | 2020-10-20 |
| 授权公布号 | CN213713336U |
| 授权公告日 | 2021-07-16 |
| 分类号 | F24F5/00;F24F7/007;F24F11/64;F24F11/89;F24F13/20;F24F13/28;F24S10/40;F24S10/70;F24S50/00;F24F110/10N |
| 分类 | 供热;炉灶;通风; |
| 申请人名称 | 天普新能源科技有限公司 |
| 申请人地址 | 北京市大兴区芦城工业区创业路1号 |
专利法律状态
2021-07-16
授权
状态信息
授权
摘要
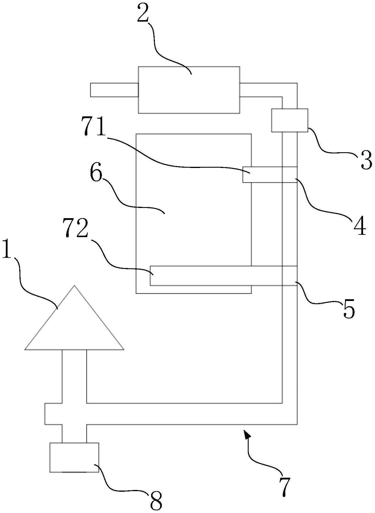
本实用新型公开了一种调节建筑物内部物理环境的系统。所述系统包括建筑主体、太阳能空气集热器和风道;风道由地下逐渐延伸至建筑主体内部并且风道的上端与太阳能空气集热器连通,太阳能空气集热器设于建筑主体上方,风道的下端裸露出地面,外界风分别在风道下端和太阳能空气集热器换热后进入建筑主体中。本实用新型所述系统通过在建筑主体外部设置太阳能空气集热器、配有防雨防尘防鼠的锥形帽和集水坑的地道风道、为建筑主体导流风向的第一风流转向开关和第二风流转向开关、以太阳能为动力的风机,来自锥形帽和太阳能空气集热器的进出风口的室外新风,根据需要在通过增温和降温后进入建筑主体,起到建筑温度调节和新风换气的作用。


