授权公布号:CN217038123U
一种太阳能跨季采暖的自给型大棚
有效
申请
2022-02-18
申请公布
1970-01-01
授权
2022-07-26
预估到期
2032-02-18
| 申请号 | CN202220329916.1 |
| 申请日 | 2022-02-18 |
| 授权公布号 | CN217038123U |
| 授权公告日 | 2022-07-26 |
| 分类号 | A01G9/14;A01G9/24;F24S20/40 |
| 分类 | 农业;林业;畜牧业;狩猎;诱捕;捕鱼; |
| 申请人名称 | 天普新能源科技有限公司 |
| 申请人地址 | 北京市大兴区芦城工业区创业路1号 |
专利法律状态
2022-07-26
授权
状态信息
授权
摘要
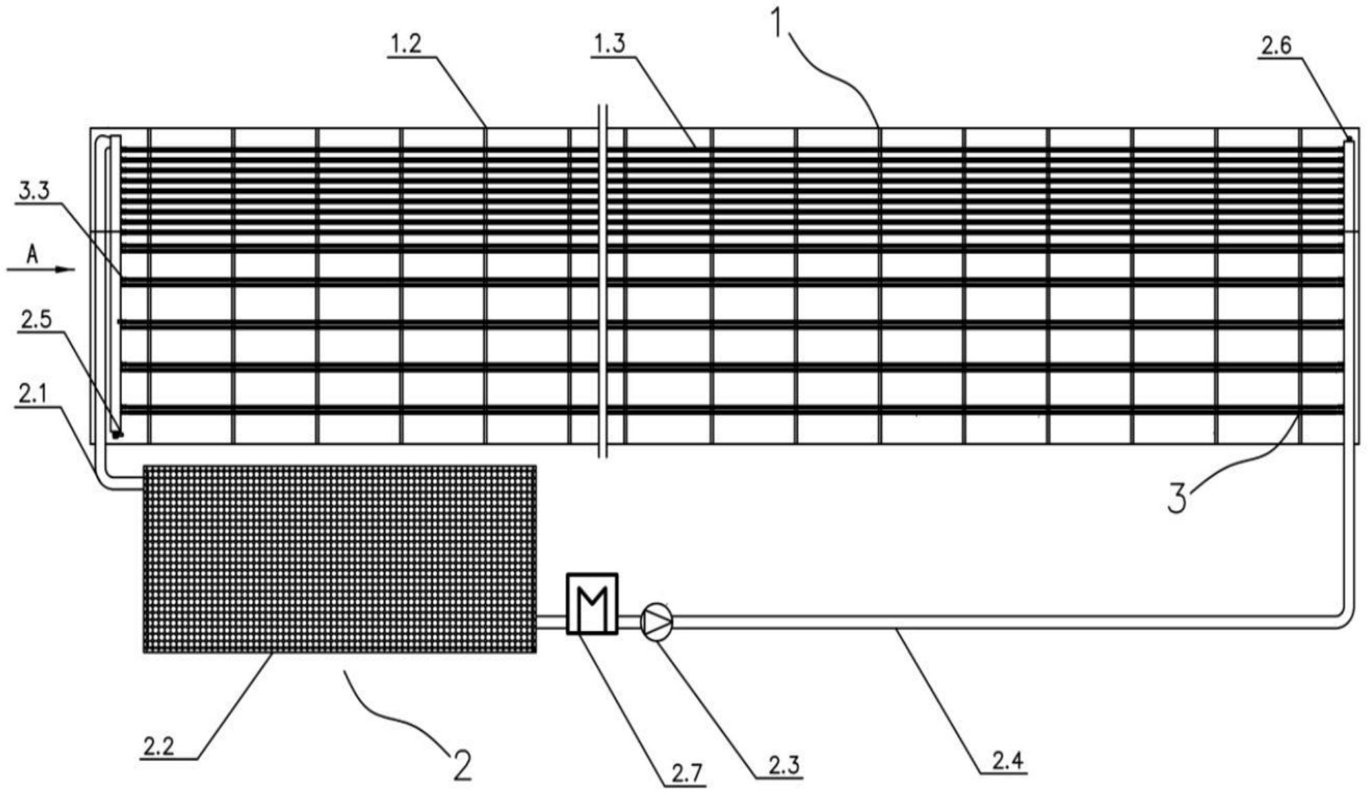
本实用新型涉及太阳能采暖技术领域,提供一种太阳能跨季采暖的自给型大棚,包括采暖系统、循环供暖系统和连接组件,采暖系统通过连接组件与循环供暖系统密封连接;采暖系统包括轻钢龙骨立柱、轻钢龙骨弧形棚架、三槽铝型材和太阳能发热管,循环供暖系统包括上循环管、储水箱、循环泵和下循环管;本实用新型所述自给型棚架既是大棚棚架也是太阳能集热器,结构轻量简约,安装维护简便,使用成本经济,抗低温强风性能优越。


