授权公布号:CN217482269U
三通卡压接头
有效
申请
2022-04-28
申请公布
1970-01-01
授权
2022-09-23
预估到期
2032-04-28
| 申请号 | CN202221016188.5 |
| 申请日 | 2022-04-28 |
| 授权公布号 | CN217482269U |
| 授权公告日 | 2022-09-23 |
| 分类号 | F16L41/02 |
| 分类 | 工程元件或部件;为产生和保持机器或设备的有效运行的一般措施;一般绝热; |
| 申请人名称 | 浙江宏倍斯智能科技股份有限公司 |
| 申请人地址 | 浙江省台州市玉环市清港镇工业产业集聚区 |
专利法律状态
2022-09-23
授权
状态信息
授权
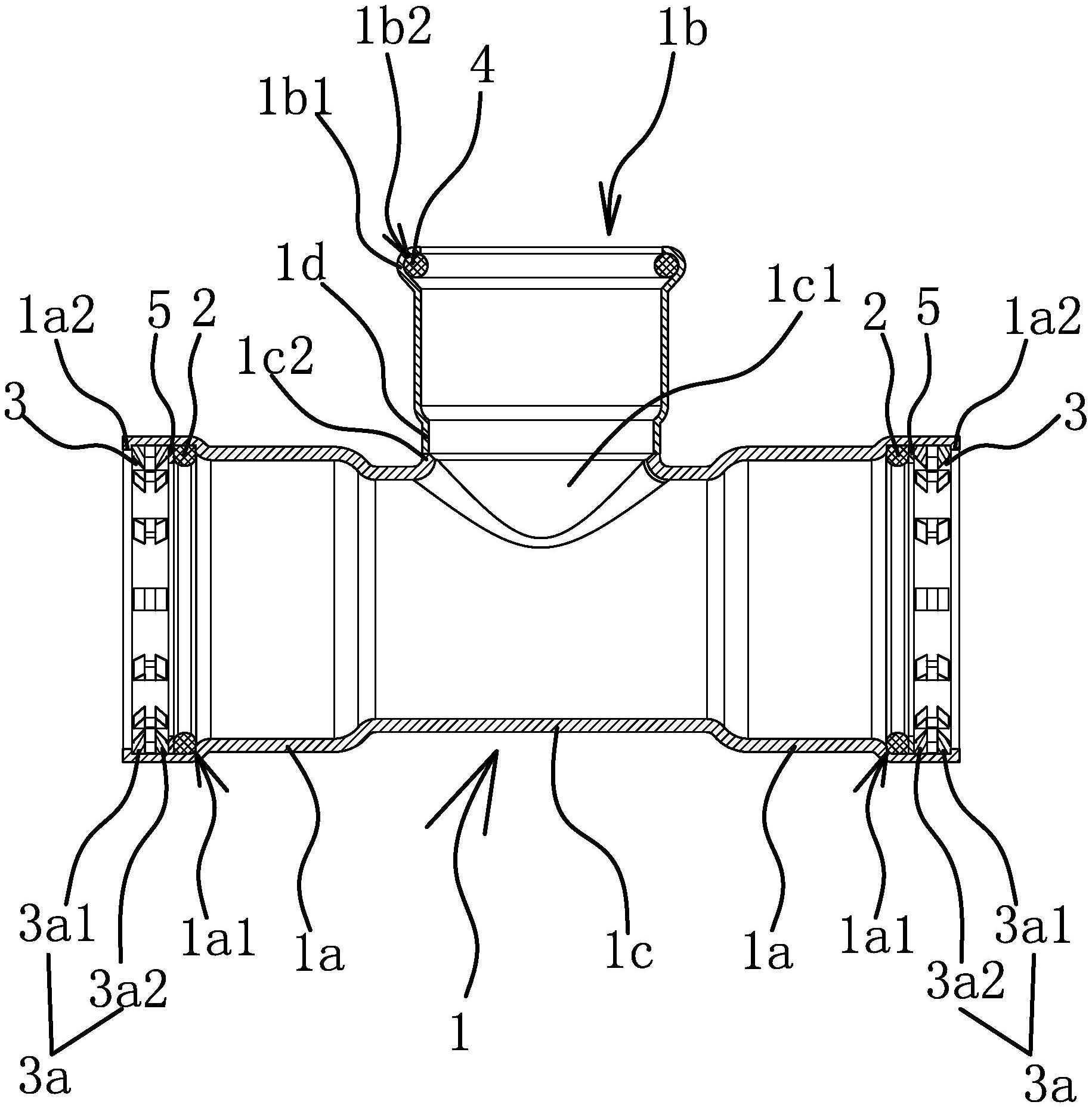
摘要
本实用新型提供了三通卡压接头,属于管件技术领域。它解决了室内管件与室外管件转换连接后使用寿命短且安全性较低的问题。它包括呈T字型的本体,本体具有两中心线相共线的第一卡压端以及中心线与第一卡压端的中心线相垂直的第二卡压端,第二卡压端的端部设有凸环且第二卡压端内侧与凸环位置对应处设有凹槽,凹槽内设有第二密封圈,两第一卡压端的壁厚相同且大于第二卡压端的壁厚,第一卡压端内侧具有定位座,定位座内设有第一密封圈与卡环,卡环内侧沿周向分布有咬合齿,第一密封圈抵靠在定位座上且卡环抵靠在第一密封圈上,第一卡压端的端口内具有抵靠在卡环背向第一密封圈一侧的挡肩。它具有安全性高、使用寿命长等优点。


