授权公布号:CN220638958U
一种管道安装调直工装
有效
申请
2023-08-24
申请公布
1970-01-01
授权
2024-03-22
预估到期
2033-08-24
| 申请号 | CN202322295703.9 |
| 申请日 | 2023-08-24 |
| 授权公布号 | CN220638958U |
| 授权公告日 | 2024-03-22 |
| 分类号 | B29C65/78;B29L23/00N |
| 分类 | 塑料的加工;一般处于塑性状态物质的加工; |
| 申请人名称 | 浙江宏倍斯智能科技股份有限公司 |
| 申请人地址 | 浙江省台州市玉环市清港镇工业产业集聚区 |
专利法律状态
2024-03-22
授权
状态信息
授权
摘要
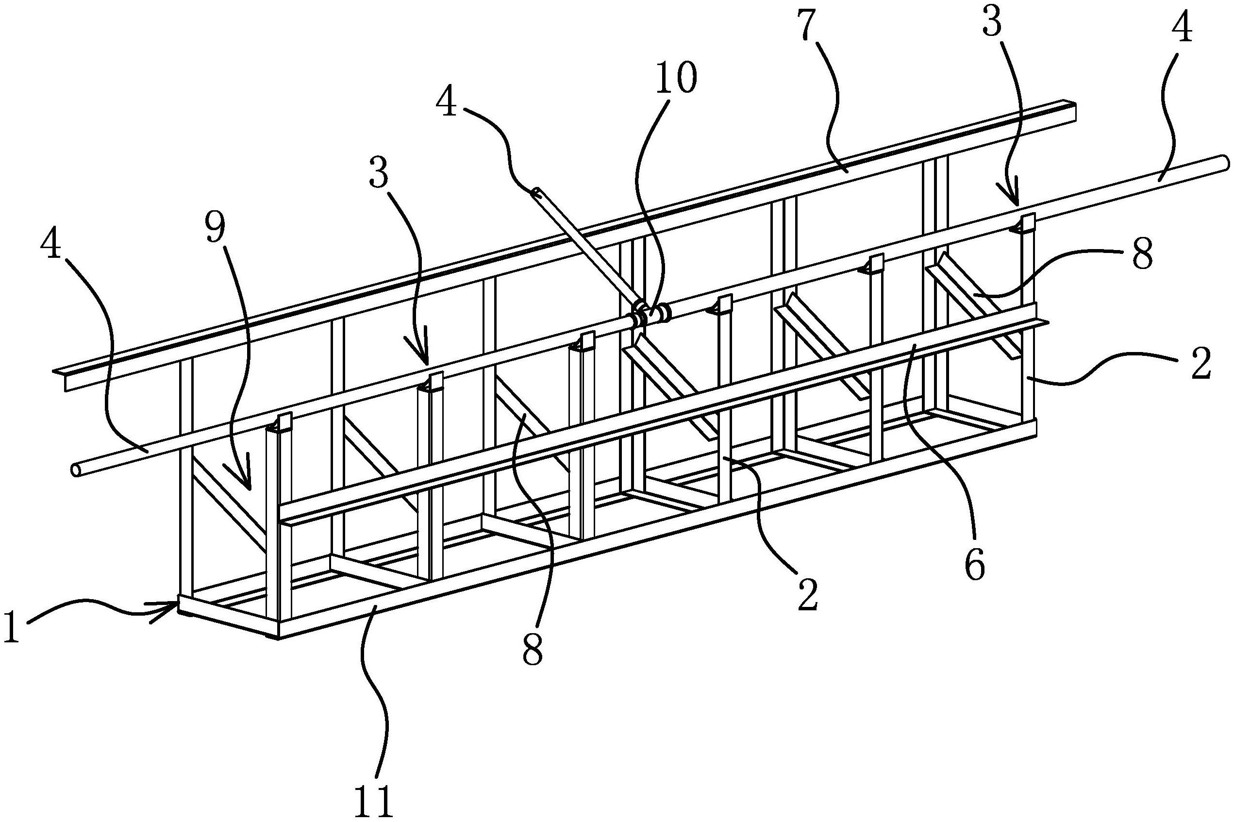
本实用新型提供了一种管道安装调直工装,属于机械技术领域。它解决了现有管道连接效率低的问题。本管道安装调直工装包括机架,机架上间隔固连有若干根支撑杆,每根支撑杆上均固连有定位件,每个定位件中均具有供管子嵌入定位的定位槽,所有的定位槽同轴设置。本管道安装调直工装具有提高管子的连接精度和提高管子的连接效率的优点。


