授权公布号:CN217503003U
卡压连接头
有效
申请
2022-04-28
申请公布
1970-01-01
授权
2022-09-27
预估到期
2032-04-28
| 申请号 | CN202221053891.3 |
| 申请日 | 2022-04-28 |
| 授权公布号 | CN217503003U |
| 授权公告日 | 2022-09-27 |
| 分类号 | F16L43/02 |
| 分类 | 工程元件或部件;为产生和保持机器或设备的有效运行的一般措施;一般绝热; |
| 申请人名称 | 浙江宏倍斯智能科技股份有限公司 |
| 申请人地址 | 浙江省台州市玉环市清港镇工业产业集聚区 |
专利法律状态
2022-09-27
授权
状态信息
授权
摘要
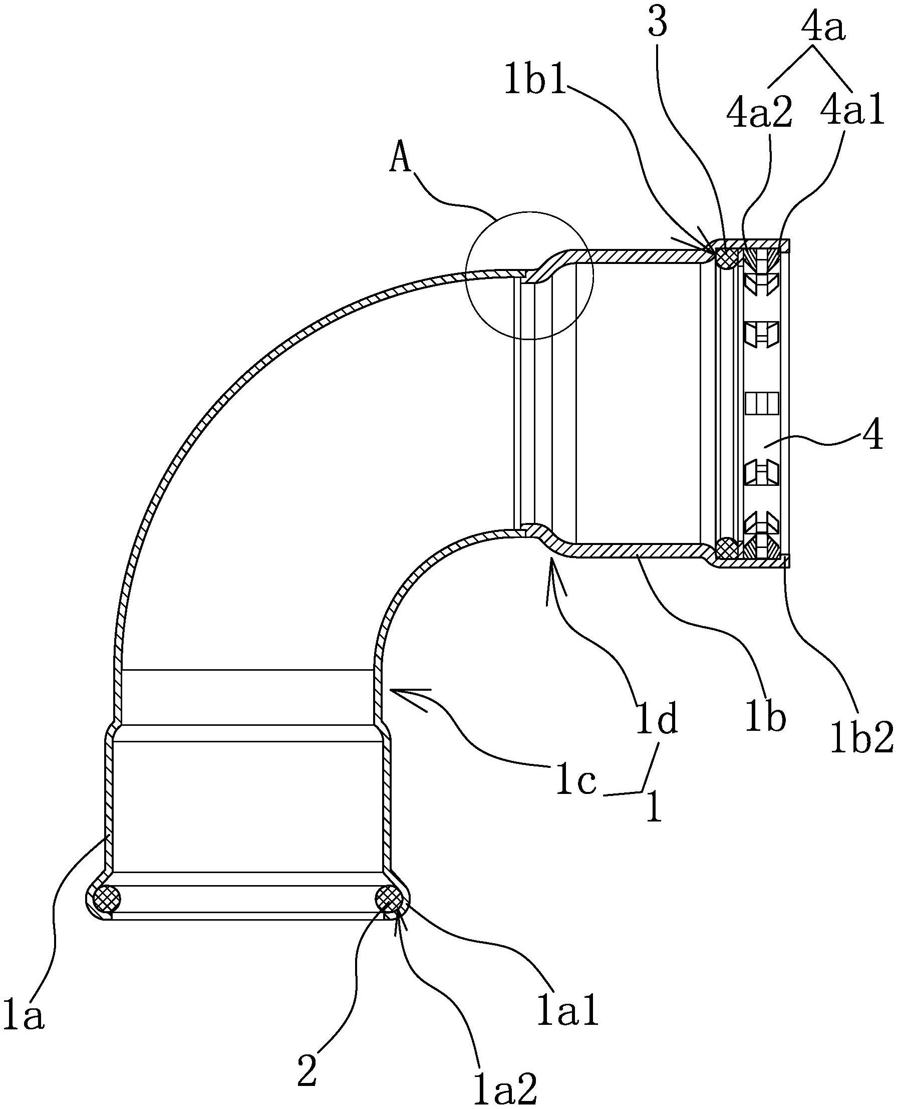
本实用新型提供了卡压连接头,属于管道连接技术领域。它解决了布置方向相垂直的两不同厚度管件转换连接后使用寿命短且安全性较低的问题。它包括弯曲呈90°的本体,本体两端分别为第一卡压端和第二卡压端,第一卡压端的端部设有凸环且第一卡压端内侧与凸环位置对应处设有凹槽,凹槽内设有密封圈,第二卡压端的壁厚大于第一卡压端,第二卡压端内侧具有定位座,定位座内设有密封垫圈与卡圈,卡圈内侧沿周向分布有若干咬合齿,密封垫圈抵靠在定位座上且卡圈抵靠在密封垫圈上,第二卡压端的端口内具有抵靠在卡圈背向密封垫圈一侧的挡肩。它具有安全性高、使用寿命长等优点。


