授权公布号:CN116658942B
一种燃气灶装置、控制方法及其介质
有效
申请
2023-05-17
申请公布
2023-08-29
授权
2024-02-20
预估到期
2043-05-17
| 申请号 | CN202310559839.8 |
| 申请日 | 2023-05-17 |
| 申请公布号 | CN116658942A |
| 申请公布日 | 2023-08-29 |
| 授权公布号 | CN116658942B |
| 授权公告日 | 2024-02-20 |
| 分类号 | F24C3/00;F24C3/12 |
| 分类 | 供热;炉灶;通风; |
| 申请人名称 | 广州市红日燃具有限公司 |
| 申请人地址 | 广东省广州市白云区江高镇神山大道东650号 |
专利法律状态
2024-02-20
授权
状态信息
授权
2023-09-15
实质审查的生效
状态信息
实质审查的生效;IPC(主分类):F24C3/00;申请日:20230517
2023-08-29
公布
状态信息
公布
摘要
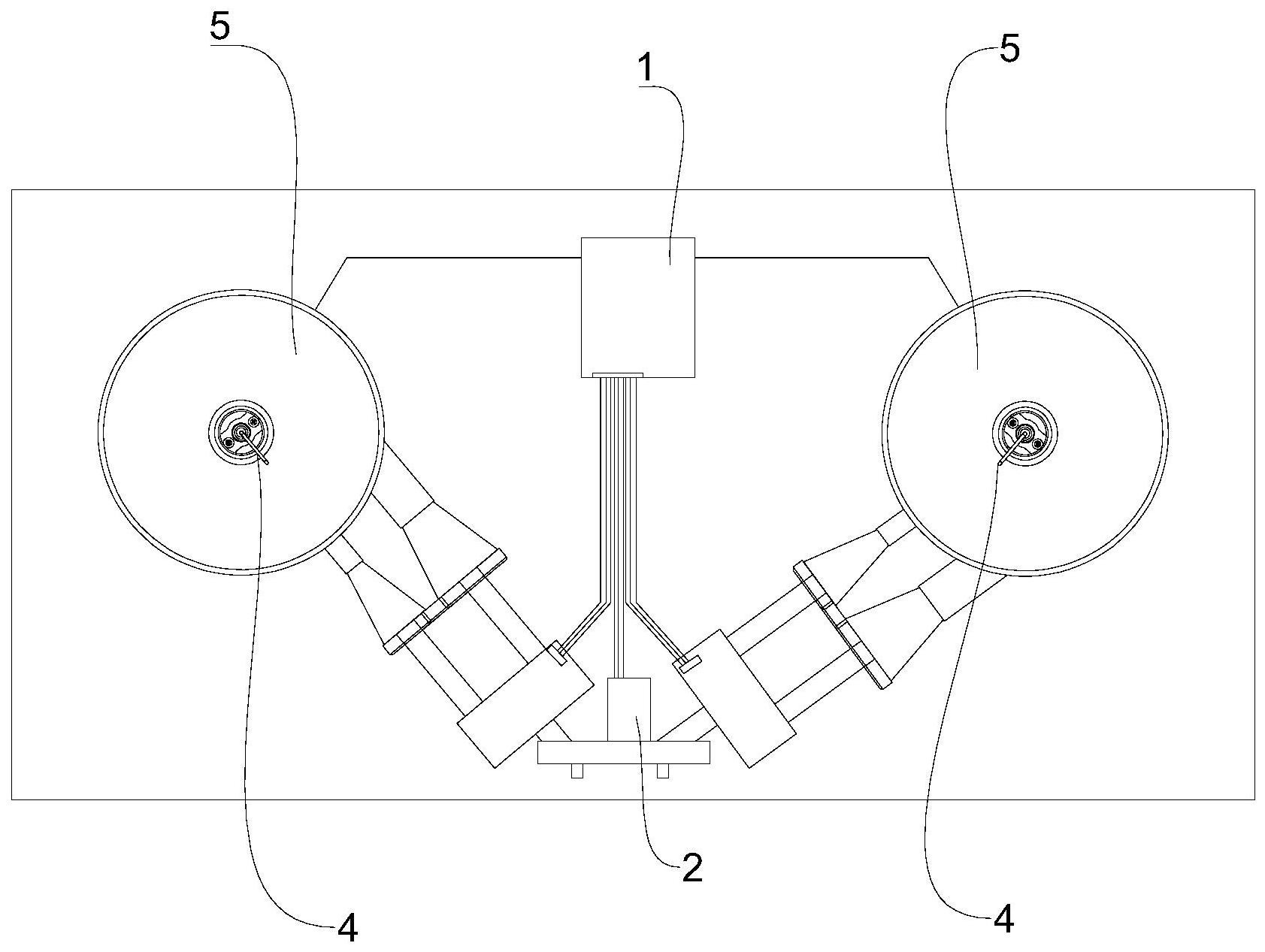
本发明属于燃气灶技术领域,提供一种燃气灶装置,包括:控制器、电磁阀、震动传感器、熄火传感器、燃烧器、报警器;所述燃烧器安装在平台上,所述电磁阀安装在所述燃烧器的进气端,所述熄火传感器安装在所述燃烧器的内部,所述震动传感器设置在所述燃烧器周围,所述控制器控制所述报警器、所述电磁阀、所述熄火传感器以及所述震动传感器。本发明通过控制器判断燃烧器是否因震动而熄火,并智能化调整电磁阀的控制参数,以便在用户使用与电磁阀的能耗两者中进一步取得平衡,有效解决震动熄火与电磁阀能耗问题。


