授权公布号:CN217131343U
一种热电偶及红外燃气灶
有效
申请
2022-04-19
申请公布
1970-01-01
授权
2022-08-05
预估到期
2032-04-19
| 申请号 | CN202220904049.X |
| 申请日 | 2022-04-19 |
| 授权公布号 | CN217131343U |
| 授权公告日 | 2022-08-05 |
| 分类号 | F24C3/04;G01K7/02 |
| 分类 | 供热;炉灶;通风; |
| 申请人名称 | 广州市红日燃具有限公司 |
| 申请人地址 | 广东省广州市白云区江高镇神山大道东650号 |
专利法律状态
2022-08-05
授权
状态信息
授权
摘要
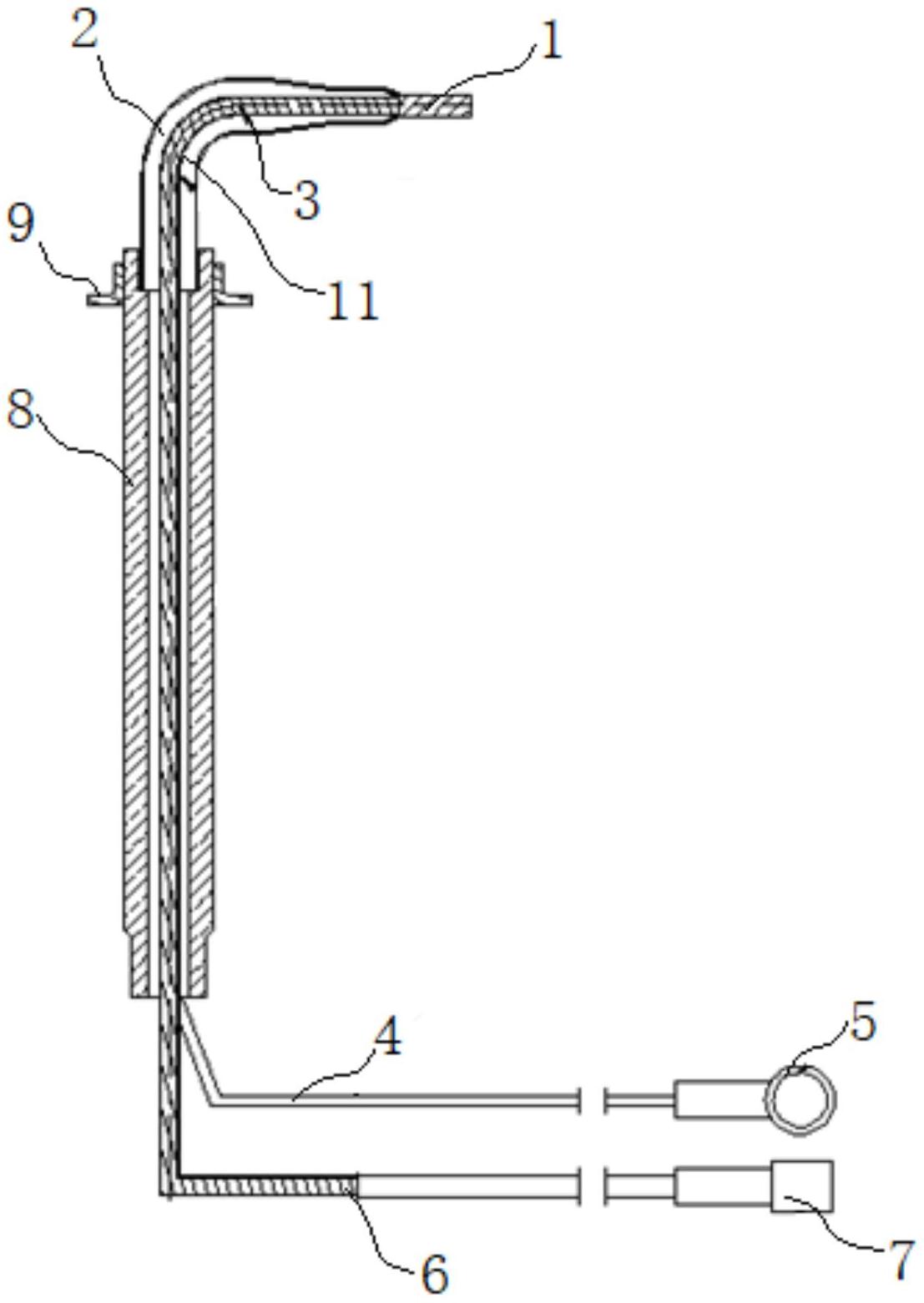
本实用新型公开了一种热电偶及红外燃气灶,热电偶包括导热体,导热体一端固定连接有一正极和一负极,正极远离导热体的一端通过正极引线连接于一接线环,负极远离导热体的一端通过负极引线连接于一插接口;所述导热体为铁铬铝合金导热体。导热体采用铁铬铝合金材质,其可耐1200℃以上的高温,正极和负极连接于导热体的一端部,在实际使用中,导热体远离正、负极的一端与燃烧器的燃烧面接触,从而防止了燃烧器的高温损伤正、负极,提高了热电偶的使用寿命,同时具有更好的安全性能。


