授权公布号:CN216203326U
一种刚性密封式红外线燃烧器
有效
申请
2021-11-16
申请公布
1970-01-01
授权
2022-04-05
预估到期
2031-11-16
| 申请号 | CN202122794668.6 |
| 申请日 | 2021-11-16 |
| 授权公布号 | CN216203326U |
| 授权公告日 | 2022-04-05 |
| 分类号 | F23D14/14;F23D14/46 |
| 分类 | 燃烧设备;燃烧方法; |
| 申请人名称 | 广州市红日燃具有限公司 |
| 申请人地址 | 广东省广州市白云区江高镇神山大道东650号 |
专利法律状态
2022-04-05
授权
状态信息
授权
摘要
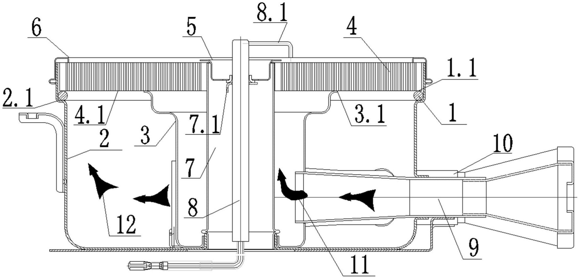
本实用新型公开了一种刚性密封式红外线燃烧器,所述的刚性密封式红外线燃烧器包括大炉腔、小炉腔、大引射管、小引射管、密封圈及多孔陶瓷板。所述大炉腔的腔壁上部形成有台阶,所述密封圈位于所述大炉腔的台阶上,所述多孔陶瓷板位于密封圈上端,所述密封圈上端与小炉腔的上端口在同一水平面上,所述多孔陶瓷板被承托在所述密封圈上端及小炉腔的上端口并将所述小炉腔及大炉腔分隔成两个互不相通的腔体,形成轴向密封,所述小引射管穿过大炉腔并插入小炉腔内与大炉腔焊接固定,所述大引射管插入大炉腔内并与所述大炉腔焊接固定。本实用新型结构简单、易于定位和安装、密封性能好、便于维修。


